DEWALT 5.5 HP GAS 8 GAL WHEELBAR D55270 Ersatzteile
D55270 5.5 HP GAS 8 GAL WHEELBAR

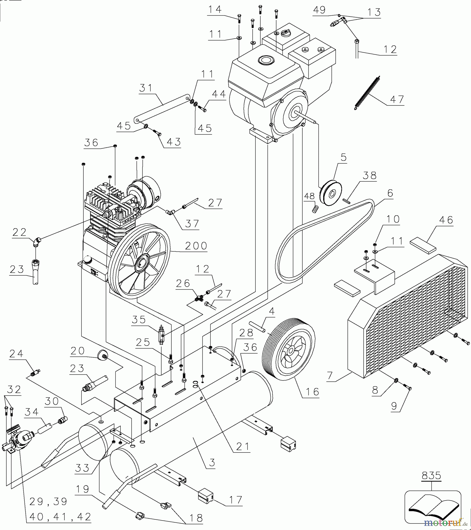
Hier finden Sie die Ersatzteilzeichnung für DEWALT SCHNURLOS-SONSTIGES 5.5 HP GAS 8 GAL WHEELBAR D55270 Seite 2. Wählen Sie das benötigte Ersatzteil aus der Ersatzteilliste Ihres DEWALT Gerätes aus und bestellen Sie einfach online. Viele DEWALT Ersatzteile halten wir ständig in unserem Lager für Sie bereit.


Qualitätsmanagement
Informieren Sie uns, wenn Sie einen Fehler gefunden haben.

