BLACK+DECKER KOCHEN GRILL BXGR2200E Ersatzteile
BXGR2200E GRILL

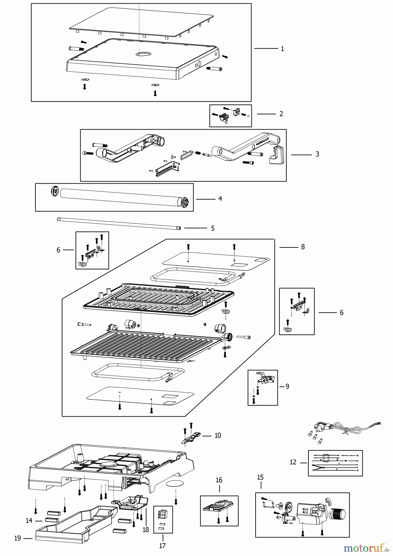
Hier finden Sie die Ersatzteilzeichnung für BLACK+DECKER HAUSHALT KOCHEN GRILL BXGR2200E Seite 1. Wählen Sie das benötigte Ersatzteil aus der Ersatzteilliste Ihres BLACK+DECKER Gerätes aus und bestellen Sie einfach online. Viele BLACK+DECKER Ersatzteile halten wir ständig in unserem Lager für Sie bereit.


Qualitätsmanagement
Informieren Sie uns, wenn Sie einen Fehler gefunden haben.

