PORTER CABLE 893PK w/ HEIGHT ADJUSTOR 893PKL Ersatzteile
893PKL 893PK w/ HEIGHT ADJUSTOR

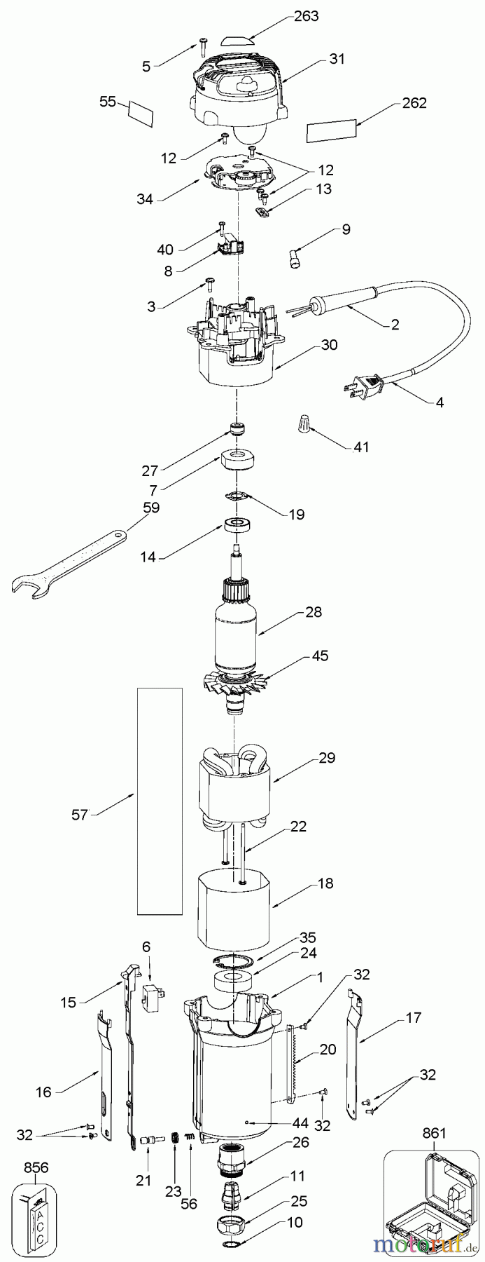
Hier finden Sie die Ersatzteilzeichnung für PORTER CABLE Divers 893PK w/ HEIGHT ADJUSTOR 893PKL Seite 3. Wählen Sie das benötigte Ersatzteil aus der Ersatzteilliste Ihres PORTER CABLE Gerätes aus und bestellen Sie einfach online. Viele PORTER CABLE Ersatzteile halten wir ständig in unserem Lager für Sie bereit.


Qualitätsmanagement
Informieren Sie uns, wenn Sie einen Fehler gefunden haben.

