BLACK+DECKER HAMMER 1-1/2 S ROT.HAMMR 5095K Ersatzteile
5095K 1-1/2 S ROT.HAMMR

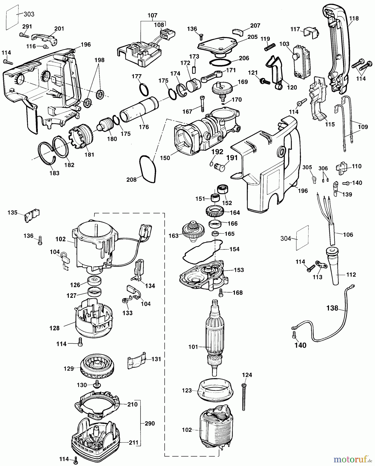
Hier finden Sie die Ersatzteilzeichnung für BLACK+DECKER PROFESSIONELL HAMMER 1-1/2 S ROT.HAMMR 5095K Seite 2. Wählen Sie das benötigte Ersatzteil aus der Ersatzteilliste Ihres BLACK+DECKER Gerätes aus und bestellen Sie einfach online. Viele BLACK+DECKER Ersatzteile halten wir ständig in unserem Lager für Sie bereit.


Qualitätsmanagement
Informieren Sie uns, wenn Sie einen Fehler gefunden haben.

