CRAFTSMAN ENGINE 265-WU Ersatzteile
265-WU ENGINE

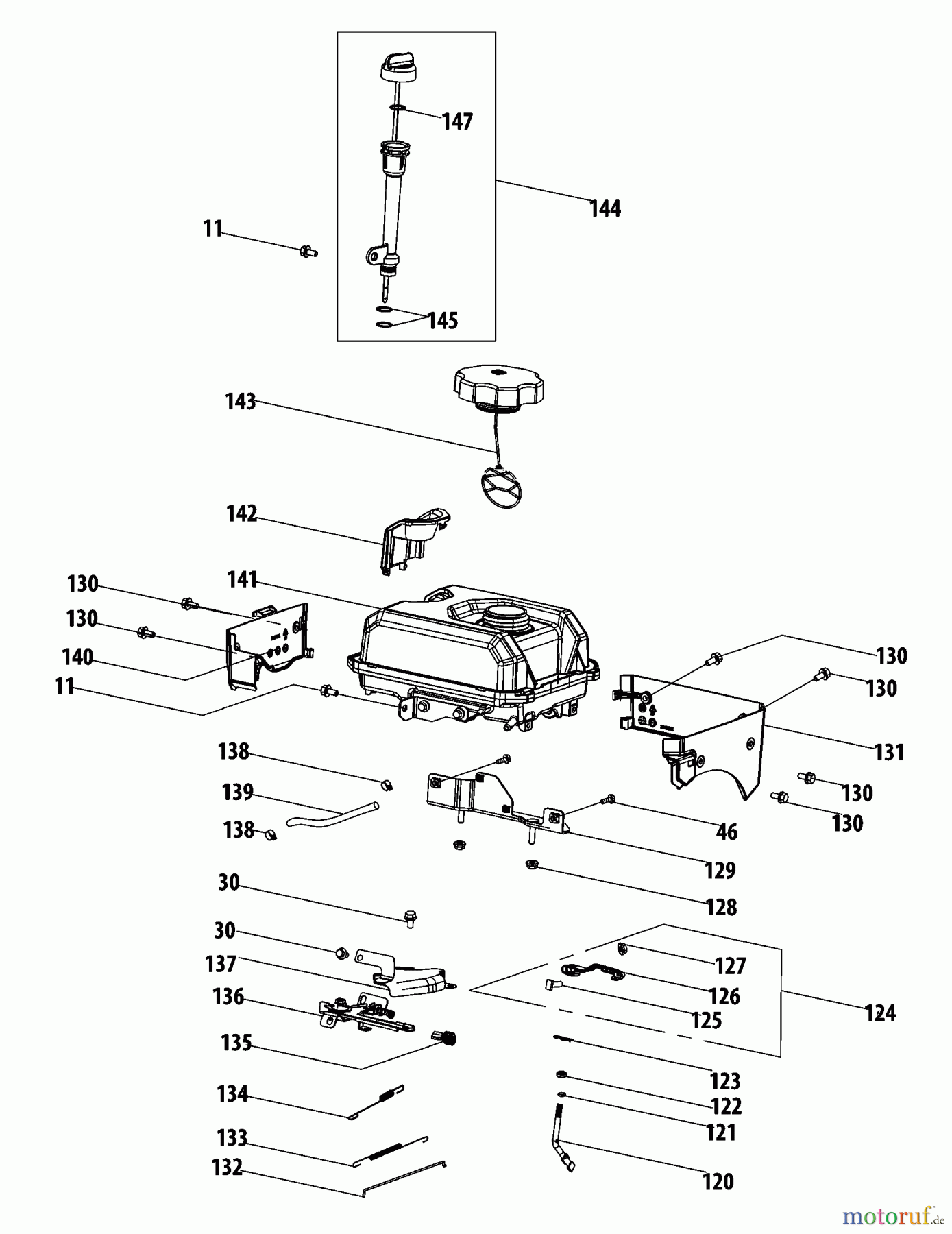
Hier finden Sie die Ersatzteilzeichnung für CRAFTSMAN Divers ENGINE 265-WU Seite 7. Wählen Sie das benötigte Ersatzteil aus der Ersatzteilliste Ihres CRAFTSMAN Gerätes aus und bestellen Sie einfach online. Viele CRAFTSMAN Ersatzteile halten wir ständig in unserem Lager für Sie bereit.


Qualitätsmanagement
Informieren Sie uns, wenn Sie einen Fehler gefunden haben.

