Gutbrod HB 53 R 12AWC5JT690 (2011) Messer, Messeraufnahme, Motor Ersatzteile
Messer, Messeraufnahme, Motor 12AWC5JT690 (2011)

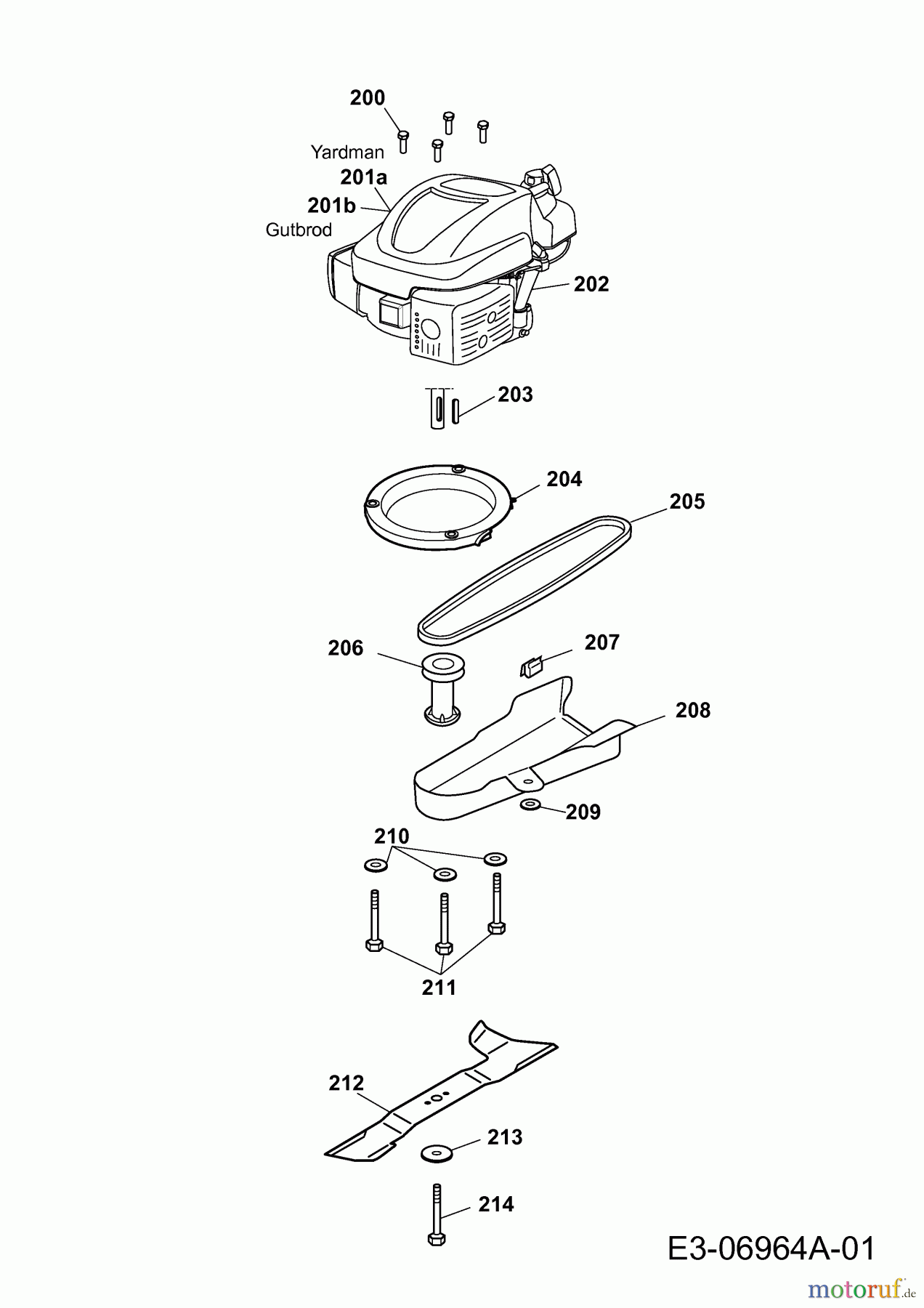
Hier finden Sie die Ersatzteilzeichnung für Gutbrod Motormäher mit Antrieb HB 53 R 12AWC5JT690 (2011) Messer, Messeraufnahme, Motor. Wählen Sie das benötigte Ersatzteil aus der Ersatzteilliste Ihres Gutbrod Gerätes aus und bestellen Sie einfach online. Viele Gutbrod Ersatzteile halten wir ständig in unserem Lager für Sie bereit.


Qualitätsmanagement
Informieren Sie uns, wenn Sie einen Fehler gefunden haben.


