LONCIN Motoren Auspuff Ersatzteile
Auspuff Schneefräsen Motor LC165FDS, 170FDS

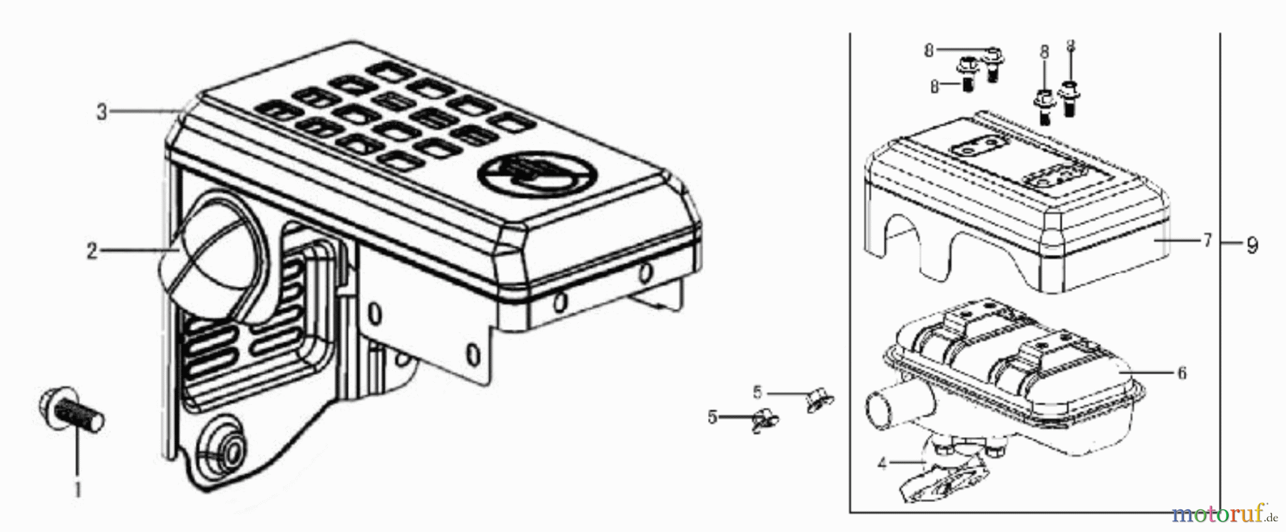
Hier finden Sie die Ersatzteilzeichnung für LONCIN Motoren Schneefräsen Motor LC165FDS, 170FDS Auspuff. Wählen Sie das benötigte Ersatzteil aus der Ersatzteilliste Ihres LONCIN Motoren Gerätes aus und bestellen Sie einfach online. Viele LONCIN Motoren Ersatzteile halten wir ständig in unserem Lager für Sie bereit.


Qualitätsmanagement
Informieren Sie uns, wenn Sie einen Fehler gefunden haben.

