Bosch Kapp-/Zugsäge GCM 12 SDE Ersatzteile
GCM 12 SDE Kapp-/Zugsäge
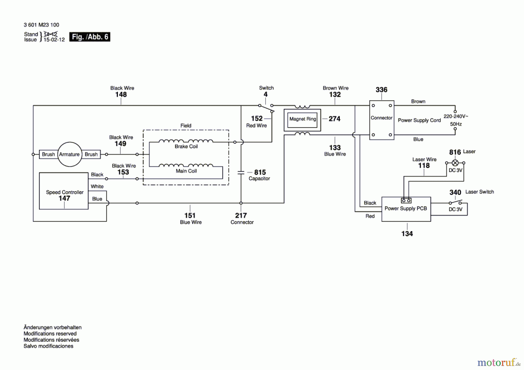
Artikel Nummer: 3 601 M23 100 (3601M23100)

Hier finden Sie die Ersatzteilzeichnung für Bosch Werkzeug Kapp-/Zugsäge GCM 12 SDE Seite 6. Wählen Sie das benötigte Ersatzteil aus der Ersatzteilliste Ihres Bosch Gerätes aus und bestellen Sie einfach online. Viele Bosch Ersatzteile halten wir ständig in unserem Lager für Sie bereit.


Qualitätsmanagement
Informieren Sie uns, wenn Sie einen Fehler gefunden haben.

