Shimano WH-RS500-TL-F Front Wheel Ersatzteile
WH-RS500-TL-F Front Wheel WH Wheels - Laufräder

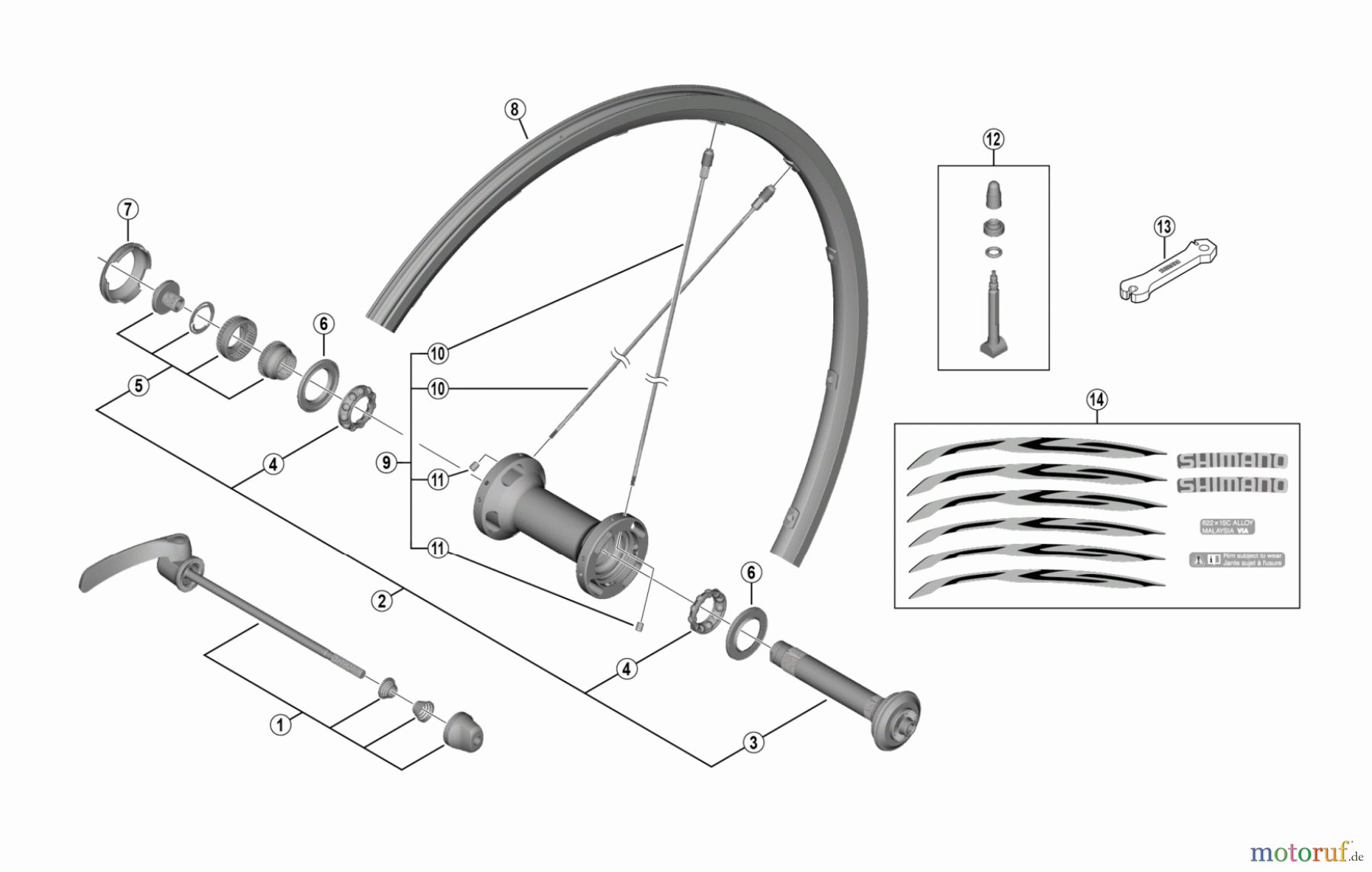
Hier finden Sie die Ersatzteilzeichnung für Shimano WH Wheels - Laufräder WH-RS500-TL-F Front Wheel. Wählen Sie das benötigte Ersatzteil aus der Ersatzteilliste Ihres Shimano Gerätes aus und bestellen Sie einfach online. Viele Shimano Ersatzteile halten wir ständig in unserem Lager für Sie bereit.


Qualitätsmanagement
Informieren Sie uns, wenn Sie einen Fehler gefunden haben.




