Güde Ölfrei bis 50l Kessel Kompressor Airpower 180/08 - 50077 Ersatzteileversion FSL50077-01 Ersatzteile
Ersatzteileversion FSL50077-01 Kompressor Airpower 180/08 - 50077
Gültig für folgende Seriennummern (ersten 5 Ziffern der Geräteseriennummer)
48934 49039 49040 50003 50619 51234 51779 51907 52132 52992 52993 53447 53449 53450 53732 55631 55725 55726 55727 56441 56543 57101 57449 58042 58187 58915 59852 60007 60035 60376 60592 60794 61655 61656 62101 62431 62581 62675 63152 63391 63520 64172 64173 64308 64577 64625 64810 65110 65439 65557 66321 67959

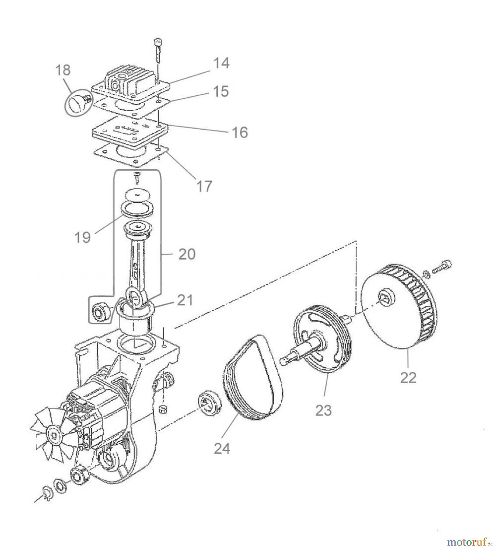
Hier finden Sie die Ersatzteilzeichnung für Güde Drucklufttechnik Kompressoren Ölfrei bis 50l Kessel Kompressor Airpower 180/08 - 50077 Ersatzteileversion FSL50077-01 Seite 2. Wählen Sie das benötigte Ersatzteil aus der Ersatzteilliste Ihres Güde Gerätes aus und bestellen Sie einfach online. Viele Güde Ersatzteile halten wir ständig in unserem Lager für Sie bereit.


Qualitätsmanagement
Informieren Sie uns, wenn Sie einen Fehler gefunden haben.



