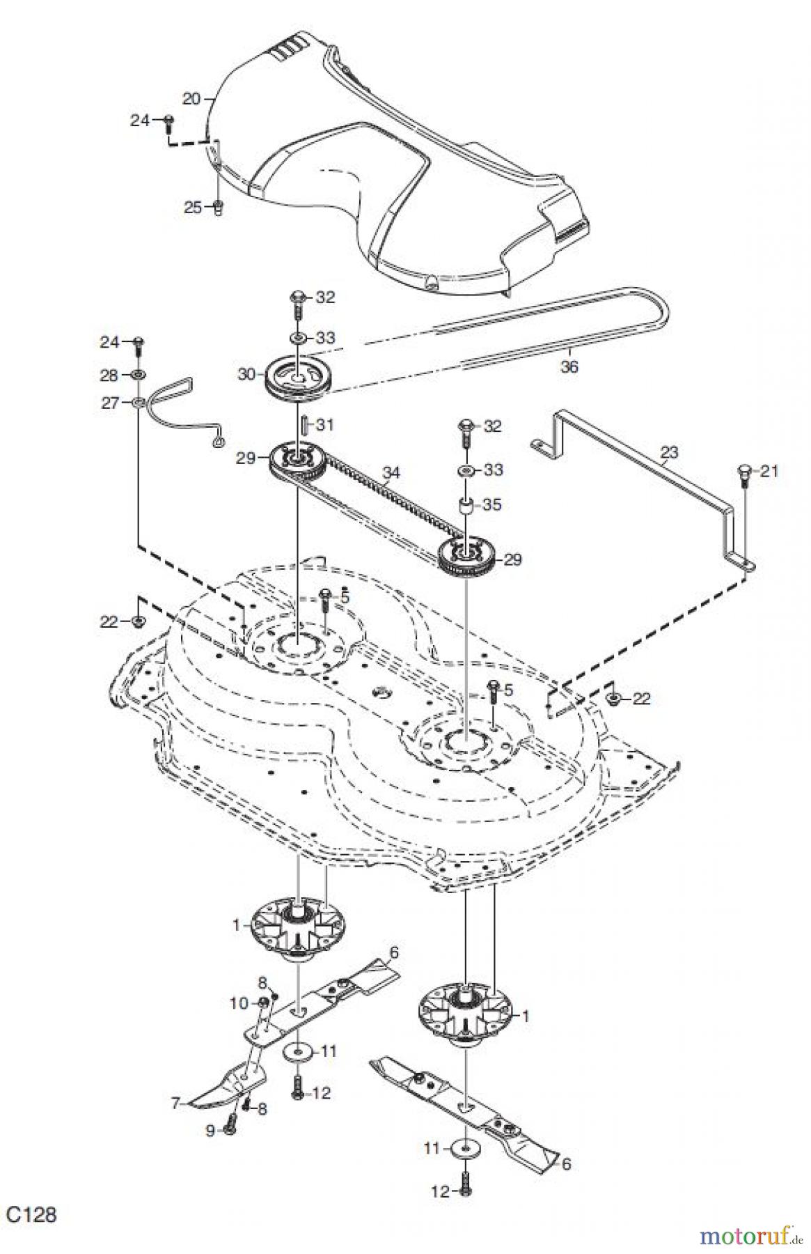
Global Garden Products GGP XM_Series 2008 XM MÄHWERK 95C TRANSMISSION Ersatzteile
XM MÄHWERK 95C TRANSMISSION 2008

Hier finden Sie die Ersatzteilzeichnung für Global Garden Products GGP Frontmäher XM_Series 2008 XM MÄHWERK 95C TRANSMISSION. Wählen Sie das benötigte Ersatzteil aus der Ersatzteilliste Ihres Global Garden Products GGP Gerätes aus und bestellen Sie einfach online. Viele Global Garden Products GGP Ersatzteile halten wir ständig in unserem Lager für Sie bereit.



