Solo by AL-KO Motorsensen 135B Ersatzteile
135B Motorsensen
Artikel Nummer: 100013501 100013501
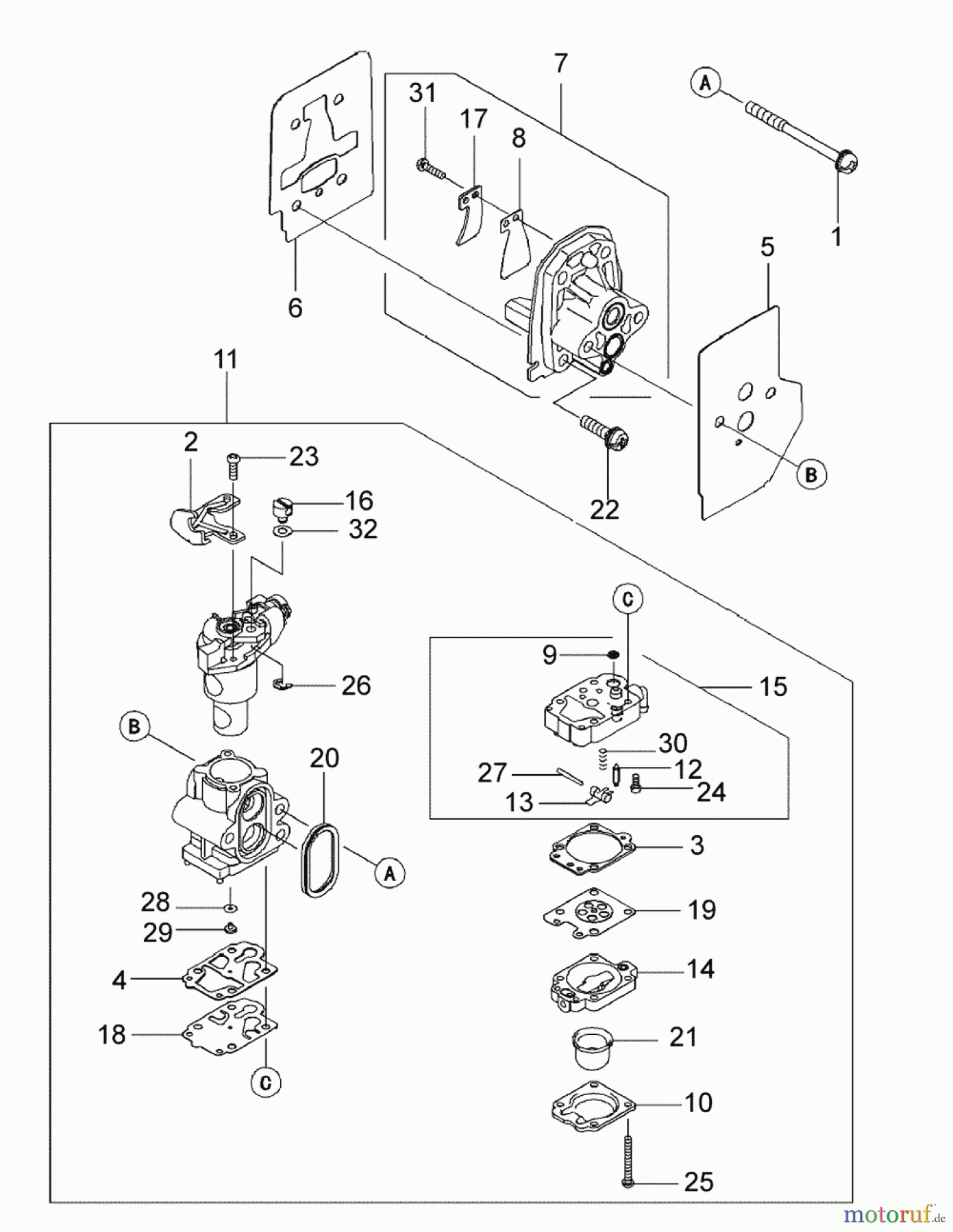
![Solo by AL-KO Gartentechnik Motorsensen 135B ET 042008 Druck 9 135 750 04/2008 [SN: ET 042008 Druck 9 135 750] Seite 5](/bild2cache/zenbit_katbilder_garten_hobby_partnerweb_shop_parts_gif_2008_04_01_100013501ET_042008_Druck_9_135_750_5_gif-1391-1800.jpg)
Hier finden Sie die Ersatzteilzeichnung für Solo by AL-KO Gartentechnik Motorsensen 135B ET 042008 Druck 9 135 750 04/2008 [SN: ET 042008 Druck 9 135 750] Seite 5. Wählen Sie das benötigte Ersatzteil aus der Ersatzteilliste Ihres Solo by AL-KO Gerätes aus und bestellen Sie einfach online. Viele Solo by AL-KO Ersatzteile halten wir ständig in unserem Lager für Sie bereit.


Qualitätsmanagement
Informieren Sie uns, wenn Sie einen Fehler gefunden haben.

