MTD Zubehör Räumschild RS 1500 04202.05 (1996) Räumschild Ersatzteile
Räumschild 04202.05 (1996)

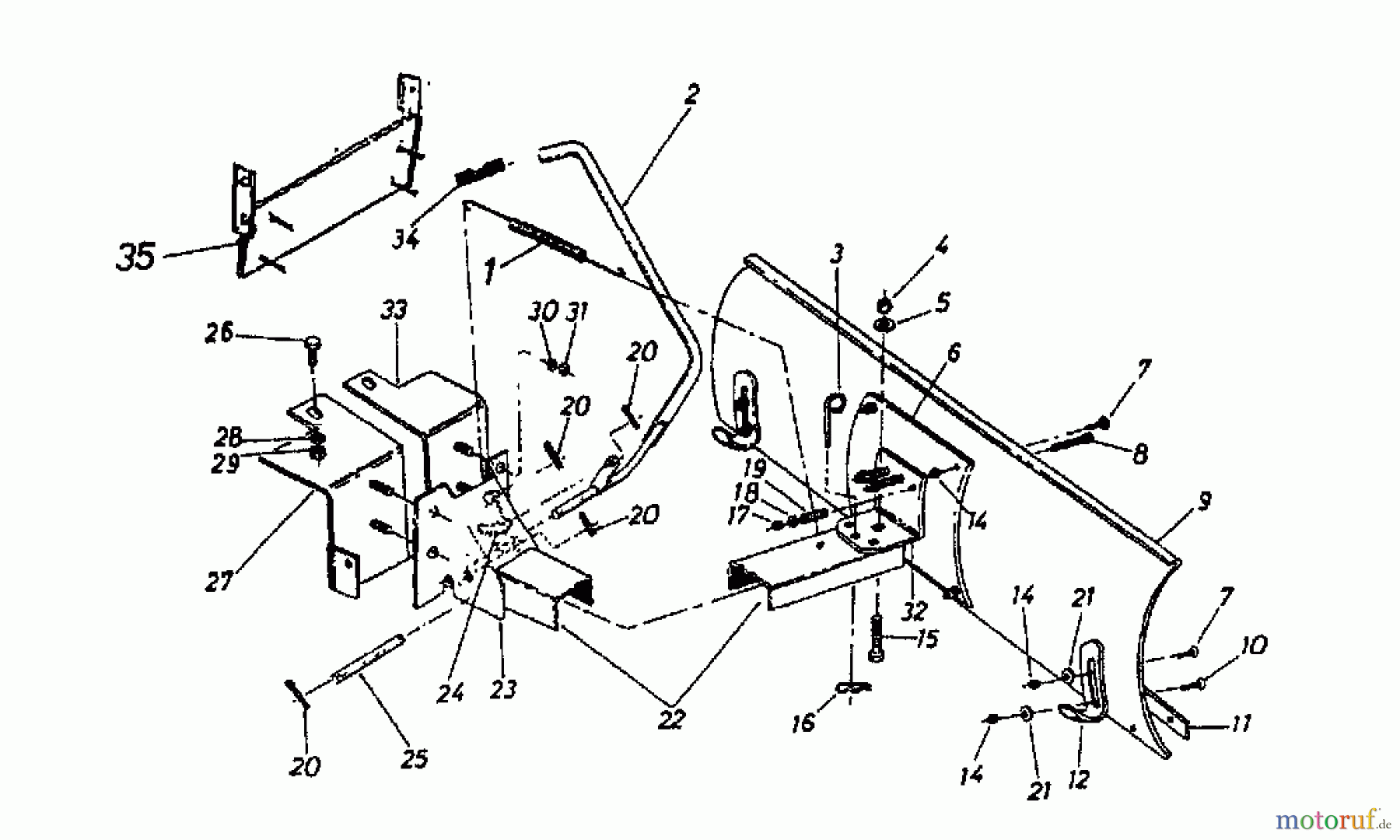
Hier finden Sie die Ersatzteilzeichnung für MTD Zubehör Zubehör Garten- und Rasentraktoren Räumschild RS 1500 04202.05 (1996) Räumschild. Wählen Sie das benötigte Ersatzteil aus der Ersatzteilliste Ihres MTD Zubehör Gerätes aus und bestellen Sie einfach online. Viele MTD Zubehör Ersatzteile halten wir ständig in unserem Lager für Sie bereit.







