Wolf-Garten RP-TL 7429000 (1995) Ersatzteile
7429000 (1995) RP-TL

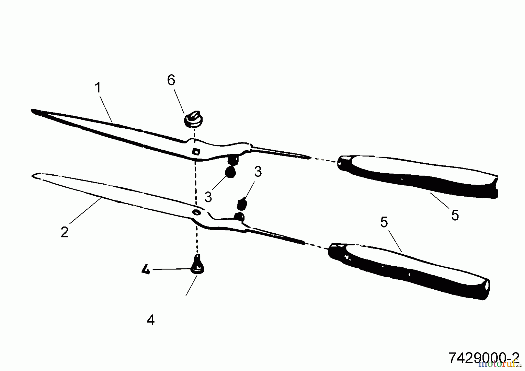
Hier finden Sie die Ersatzteilzeichnung für Wolf-Garten Manuelle Heckenscheren RP-TL 7429000 (1995) Grundgerät. Wählen Sie das benötigte Ersatzteil aus der Ersatzteilliste Ihres Wolf-Garten Gerätes aus und bestellen Sie einfach online. Viele Wolf-Garten Ersatzteile halten wir ständig in unserem Lager für Sie bereit.
| BildNr | Artikel Nummer | Bezeichnung | |
| 1 | 7427013 | Obermesser m. Pufferhalter | |
| 2 | 7427011 | ||
| 3 | ![]() | 7421206 | Gummipuffer (ETG-NR.02112/A) |
| 4 | 7425201 | GewindebolZ.ST-VZ-M10x22-N.ZG | |
| 5 | 7429101 | ||
| 6 | 7430017 | Drehknopf-WOLF | |




