Wolf-Garten Select 105.155 T 13RM77RN650 (2012) Messerspindel 618-0609C Ersatzteile
Messerspindel 618-0609C 13RM77RN650 (2012)

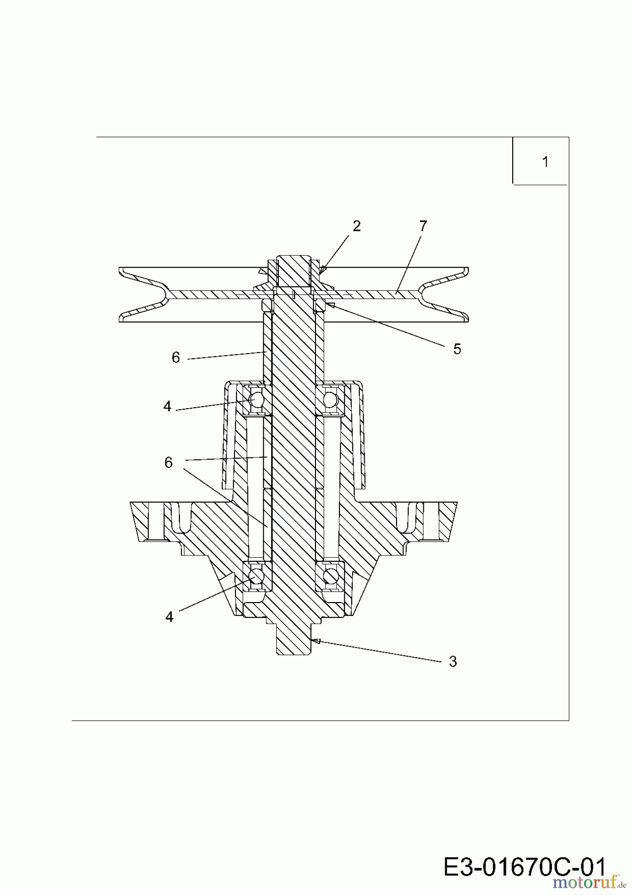
Hier finden Sie die Ersatzteilzeichnung für Wolf-Garten Rasentraktoren Select 105.155 T 13RM77RN650 (2012) Messerspindel 618-0609C. Wählen Sie das benötigte Ersatzteil aus der Ersatzteilliste Ihres Wolf-Garten Gerätes aus und bestellen Sie einfach online. Viele Wolf-Garten Ersatzteile halten wir ständig in unserem Lager für Sie bereit.


Qualitätsmanagement
Informieren Sie uns, wenn Sie einen Fehler gefunden haben.






