Atika Betonmischer Focus 185 Ersatzteile
Focus 185 Betonmischer

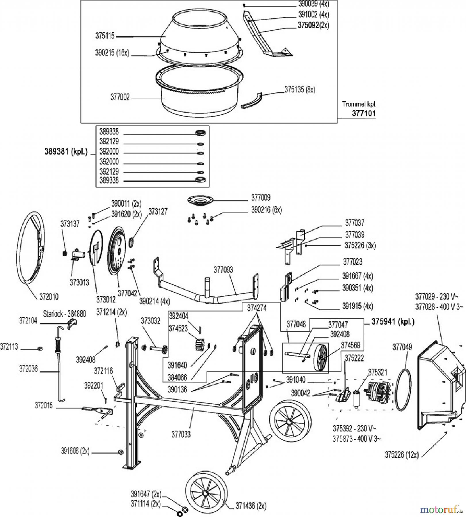
Hier finden Sie die Ersatzteilzeichnung für Atika Bau Betonmischer Focus 185. Wählen Sie das benötigte Ersatzteil aus der Ersatzteilliste Ihres Atika Gerätes aus und bestellen Sie einfach online. Viele Atika Ersatzteile halten wir ständig in unserem Lager für Sie bereit.


Qualitätsmanagement
Informieren Sie uns, wenn Sie einen Fehler gefunden haben.







