Güde Benzin-Fräsen GARTENFRÄSE GF 360 - 94128 FSL94128-01 Ersatzteile
FSL94128-01 GARTENFRÄSE GF 360 - 94128
Gültig für folgende Seriennummern (ersten 5 Ziffern der Geräteseriennummer)
05039 05041 05045 05048 05060 05066 31516 31530 32903 34032 34033 34034 34231 36296 36786 36787 36985 37257 37258 37616 38862

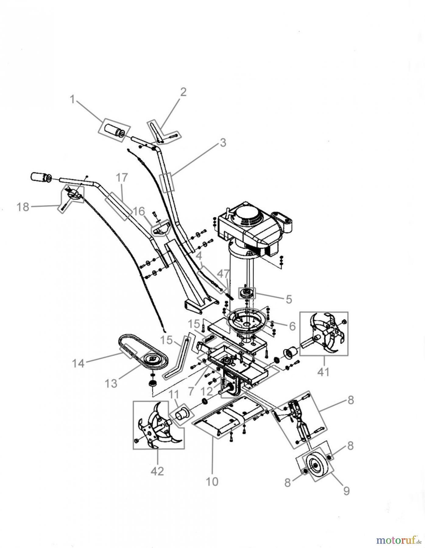
Hier finden Sie die Ersatzteilzeichnung für Güde Gartentechnik Gartenfräsen Benzin-Fräsen GARTENFRÄSE GF 360 - 94128 FSL94128-01 Seite 1. Wählen Sie das benötigte Ersatzteil aus der Ersatzteilliste Ihres Güde Gerätes aus und bestellen Sie einfach online. Viele Güde Ersatzteile halten wir ständig in unserem Lager für Sie bereit.


Qualitätsmanagement
Informieren Sie uns, wenn Sie einen Fehler gefunden haben.

