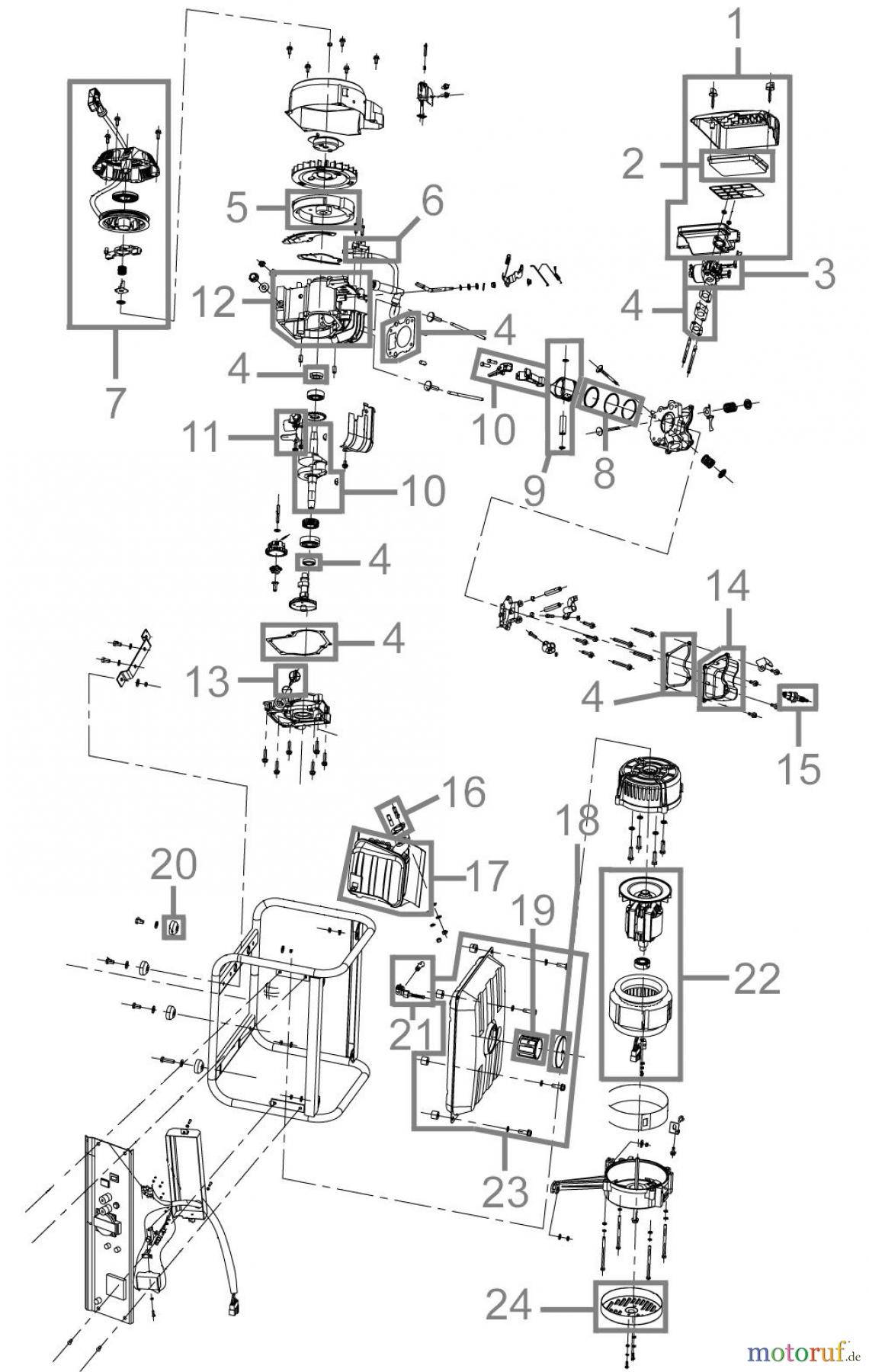
Güde STROMERZEUGER GSE 1200 4T - 40639 FSL40639-01 Ersatzteile
FSL40639-01 STROMERZEUGER GSE 1200 4T - 40639
Gültig für folgende Seriennummern (ersten 5 Ziffern der Geräteseriennummer)
27528 27618 27619 27831 27832 29667 31904 31905 32282 32749 33993 34403 34404 34887 34888 34889 34890

Hier finden Sie die Ersatzteilzeichnung für Güde Stromerzeuger Benzin-Stromerzeuger STROMERZEUGER GSE 1200 4T - 40639 FSL40639-01 Seite 1. Wählen Sie das benötigte Ersatzteil aus der Ersatzteilliste Ihres Güde Gerätes aus und bestellen Sie einfach online. Viele Güde Ersatzteile halten wir ständig in unserem Lager für Sie bereit.



