Güde über 10 t Spaltdruck HOLZSPALTER DHH 1050 / 11T ECO - 02012 FSL02012-01 Ersatzteile
FSL02012-01 HOLZSPALTER DHH 1050 / 11T ECO - 02012
Gültig für folgende Seriennummern (ersten 5 Ziffern der Geräteseriennummer)
50906 51918 55450 55709

Hier finden Sie die Ersatzteilzeichnung für Güde Brennholzbearbeitung Holzspalter über 10 t Spaltdruck HOLZSPALTER DHH 1050 / 11T ECO - 02012 FSL02012-01 Seite 3. Wählen Sie das benötigte Ersatzteil aus der Ersatzteilliste Ihres Güde Gerätes aus und bestellen Sie einfach online. Viele Güde Ersatzteile halten wir ständig in unserem Lager für Sie bereit.
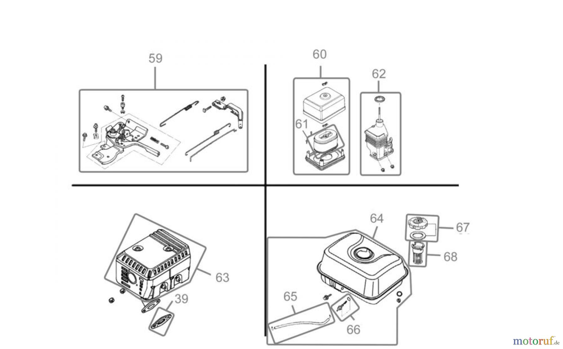
| BildNr | Artikel Nummer | Bezeichnung | |
| 39 | 16795-01002 | DICHTUNGSSATZ | |
| 59 | 16795-01024 | DREHZAHLREGLER KPL. | |
| 60 | 16795-01025 | LUFTFILTER KPL. | |
| 61 | 16795-01026 | LUFTFILTEREINSATZ | |
| 62 | 16795-01027 | ABDECKUNG VERGASER | |
| 63 | 16795-01028 | AUSPUFF KPL. | |
| 64 | 16795-01034 | KRAFTSTOFFTANK KPL. | |
| 65 | 16795-01030 | KRAFTSTOFFLEITUNG | |
| 66 | 16795-01031 | TANKANSCHLUSS | |
| 67 | 16795-01032 | KRAFTSTOFFTANKDECKEL | |
| 68 | 16795-01033 | KRAFTSTOFFFILTER | |
| Abb. | 2012-01034 | SCHUTZGITTER AUSPUFF | |
| Abb. | 95307 | BENZINSTABILISATOR SUPERSTART 25D | |



