Güde Schmutzwasserpumpen SCHMUTZW. TAUCHPUMPE DX 1000 I - 94199 FSL94199-01 Ersatzteile
FSL94199-01 SCHMUTZW. TAUCHPUMPE DX 1000 I - 94199
Gültig für folgende Seriennummern (ersten 5 Ziffern der Geräteseriennummer)
33198 35172 38352 40160 42022

Hier finden Sie die Ersatzteilzeichnung für Güde Pumpentechnik Tauchpumpen Schmutzwasserpumpen SCHMUTZW. TAUCHPUMPE DX 1000 I - 94199 FSL94199-01. Wählen Sie das benötigte Ersatzteil aus der Ersatzteilliste Ihres Güde Gerätes aus und bestellen Sie einfach online. Viele Güde Ersatzteile halten wir ständig in unserem Lager für Sie bereit.
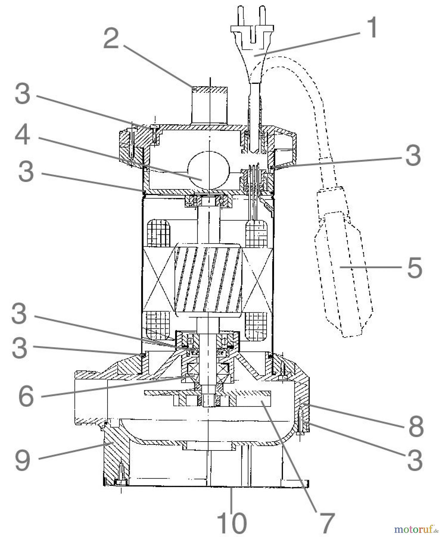
| BildNr | Artikel Nummer | Bezeichnung | |
| 1 | 94199-01001 | ANSCHLUßKABEL 10M H07 | |
| 2 | 94199-01002 | DECKEL MIT GRIFF | |
| 3 | 94199-01003 | DICHTUNGSSATZ KOMPLETT | |
| 4 | 94199-01004 | KONDENSATOR 20µF | |
| 5 | 94199-01005 | SCHWIMMERSCHALTER | |
| 6 | 94199-01006 | MECHANISCHE DICHTUNG | |
| 7 | 94199-01007 | FLÜGELRAD | |
| 8 | 94199-01008 | GRUNDGEHÄUSE | |
| 9 | 94199-01009 | DREIFUß | |
| 10 | 94199-01010 | GRUNDPLATTE | |
| Abb. | 94199-01015 | DRUCKSCHALTER 5A | |


