Güde bis 7 t Spaltdruck HOLZSPALTER SPALTY W 370/4T - 94698 FSL94698-04 Ersatzteile
FSL94698-04 HOLZSPALTER SPALTY W 370/4T - 94698
Gültig für folgende Seriennummern (ersten 5 Ziffern der Geräteseriennummer)
33697 33698 33994 33995 33996 33997 34165 34166 34167 35627 35628 35629 35804 38151 38154 38155 38156 38157 38158 38159 38588 38589

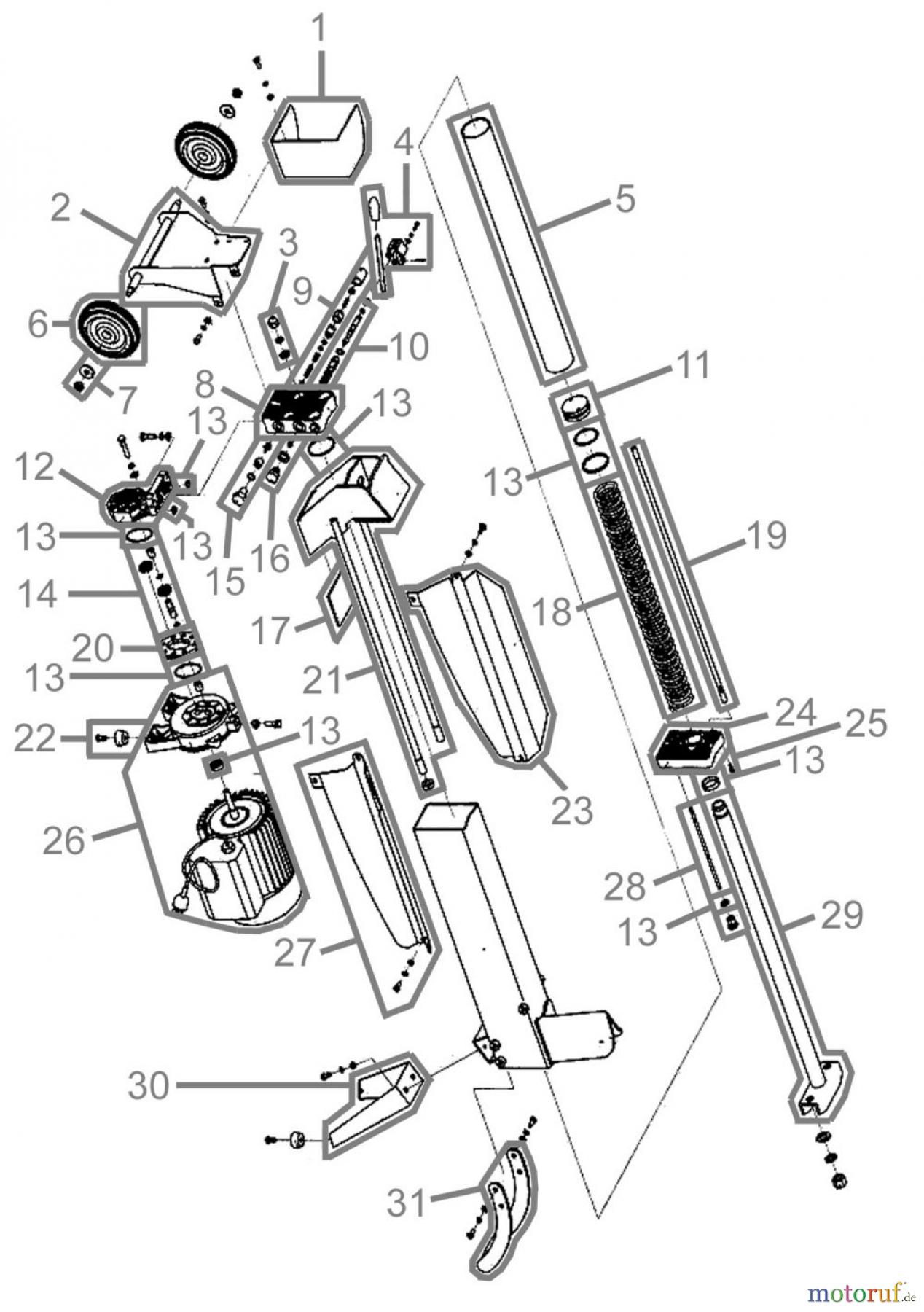
Hier finden Sie die Ersatzteilzeichnung für Güde Brennholzbearbeitung Holzspalter bis 7 t Spaltdruck HOLZSPALTER SPALTY W 370/4T - 94698 FSL94698-04 . Wählen Sie das benötigte Ersatzteil aus der Ersatzteilliste Ihres Güde Gerätes aus und bestellen Sie einfach online. Viele Güde Ersatzteile halten wir ständig in unserem Lager für Sie bereit.



