Güde Kombischleifer KOMBISCHLEIFER GDS 150 K - 55108 FSL55108-02 Ersatzteile
FSL55108-02 KOMBISCHLEIFER GDS 150 K - 55108
Gültig für folgende Seriennummern (ersten 5 Ziffern der Geräteseriennummer)
50861 51497 53577 54186 54566 55115 57852 58836 59475 59727 59973 60341 60577 60774

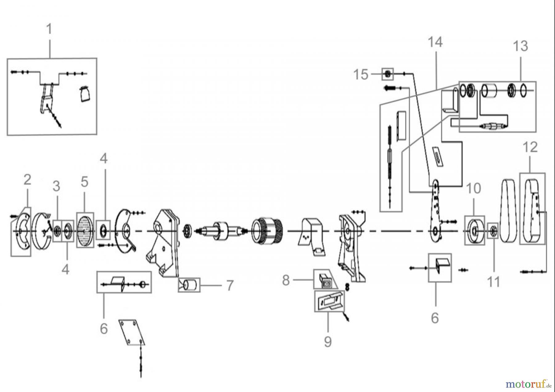
Hier finden Sie die Ersatzteilzeichnung für Güde Metallbearbeitung Schleifmaschinen Kombischleifer KOMBISCHLEIFER GDS 150 K - 55108 FSL55108-02. Wählen Sie das benötigte Ersatzteil aus der Ersatzteilliste Ihres Güde Gerätes aus und bestellen Sie einfach online. Viele Güde Ersatzteile halten wir ständig in unserem Lager für Sie bereit.


Qualitätsmanagement
Informieren Sie uns, wenn Sie einen Fehler gefunden haben.

