Tielbürger tk48hydro Ersatzteile
tk48hydro Kehrmaschinen

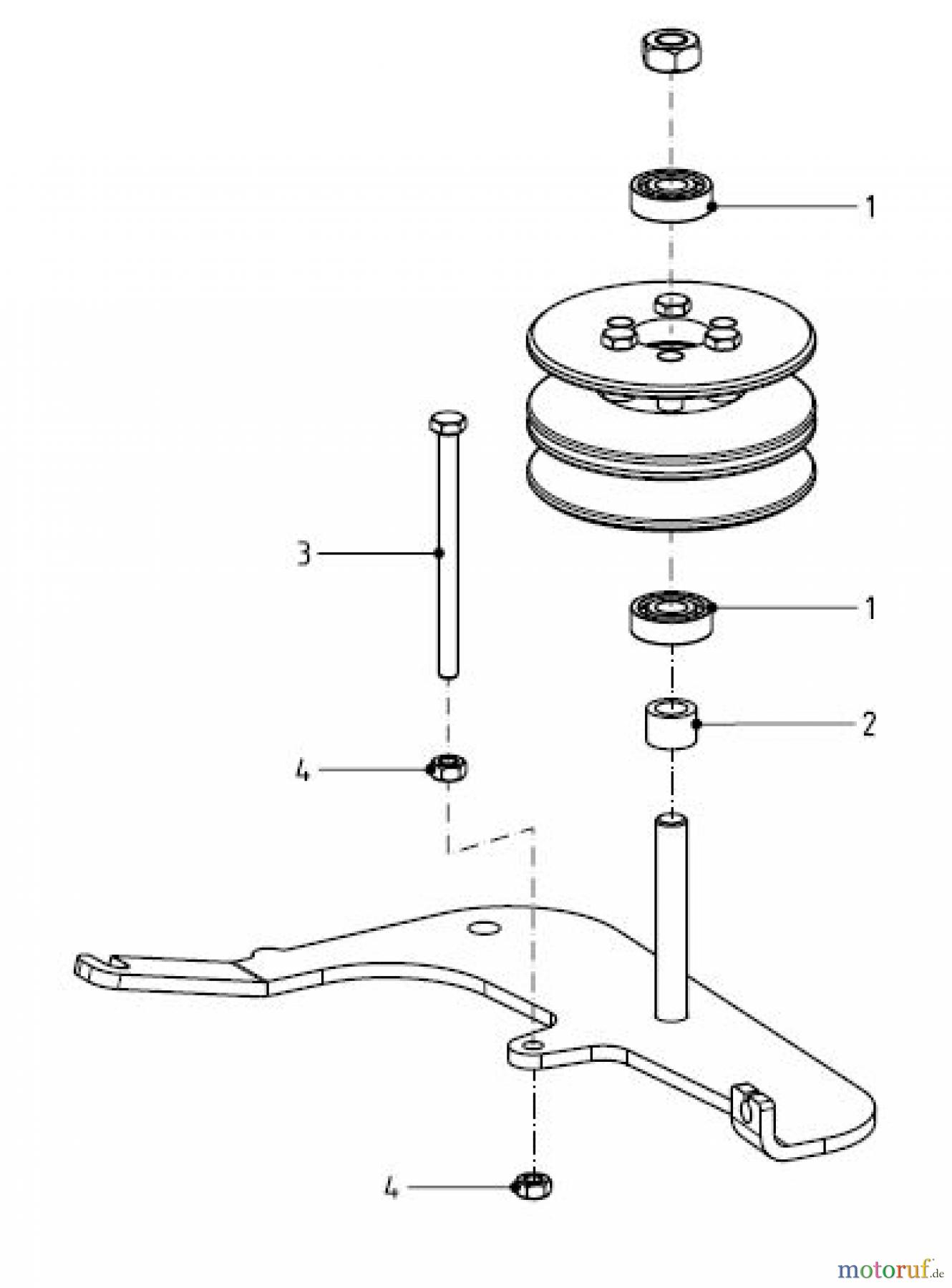
Hier finden Sie die Ersatzteilzeichnung für Tielbürger Kehrmaschinen tk48hydro Seite 8. Wählen Sie das benötigte Ersatzteil aus der Ersatzteilliste Ihres Tielbürger Gerätes aus und bestellen Sie einfach online. Viele Tielbürger Ersatzteile halten wir ständig in unserem Lager für Sie bereit.
| BildNr | Artikel Nummer | Bezeichnung | |
| (1) | HA-030-001 | Kugellager | |
| 2 | DN-060-006 | Abstandshülse | |
| 3 | HO-010-075z | Sechskantschraube | |
| 4 | HR-010-004z | Sechskantmutter | |


Qualitätsmanagement
Informieren Sie uns, wenn Sie einen Fehler gefunden haben.

