Motec MTBS 500 Y 13AA692F640 (2004) Motorkeilriemenscheibe Ersatzteile
Motorkeilriemenscheibe 13AA692F640 (2004)

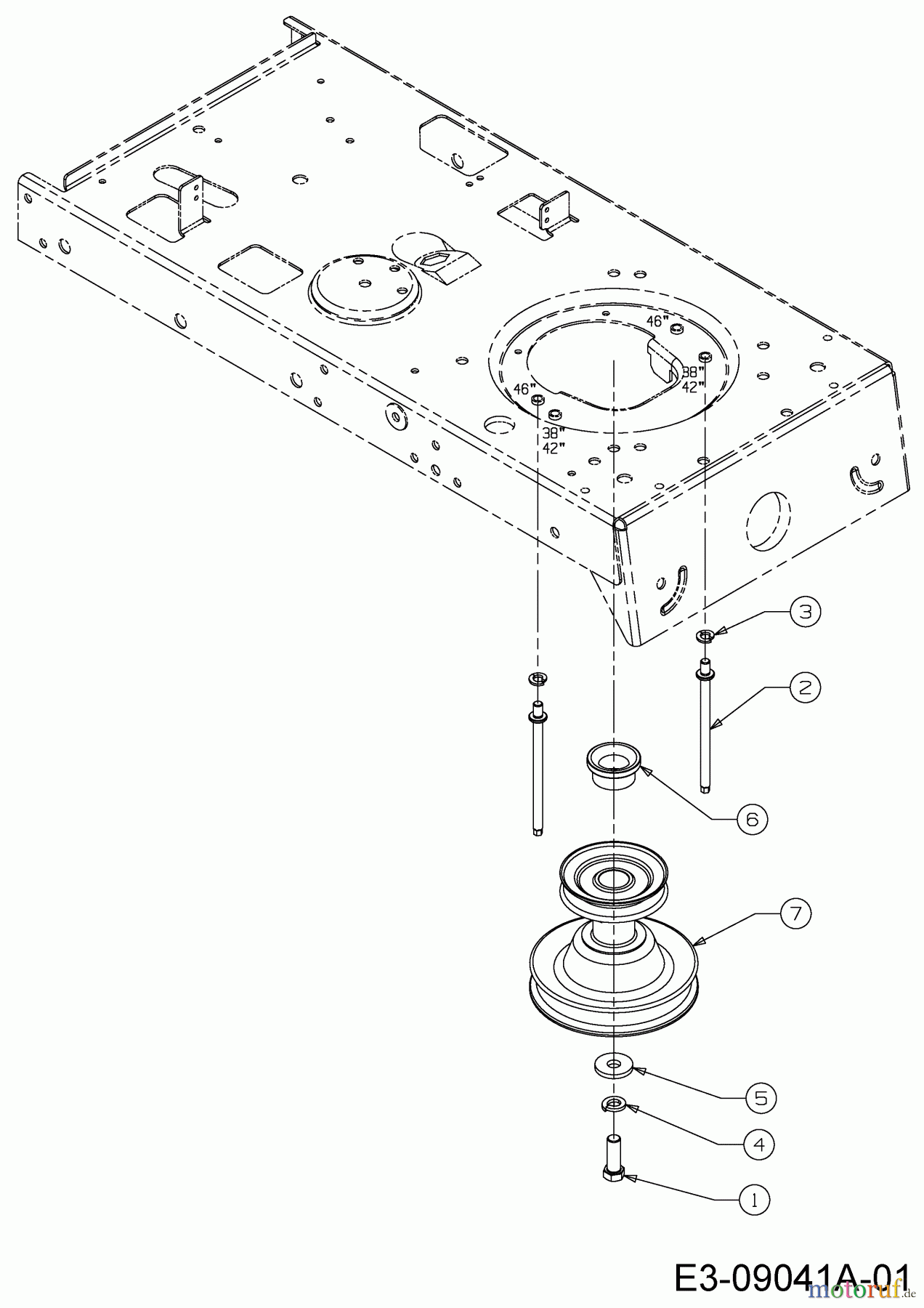
Hier finden Sie die Ersatzteilzeichnung für Motec Rasentraktoren MTBS 500 Y 13AA692F640 (2004) Motorkeilriemenscheibe. Wählen Sie das benötigte Ersatzteil aus der Ersatzteilliste Ihres Motec Gerätes aus und bestellen Sie einfach online. Viele Motec Ersatzteile halten wir ständig in unserem Lager für Sie bereit.


Qualitätsmanagement
Informieren Sie uns, wenn Sie einen Fehler gefunden haben.






