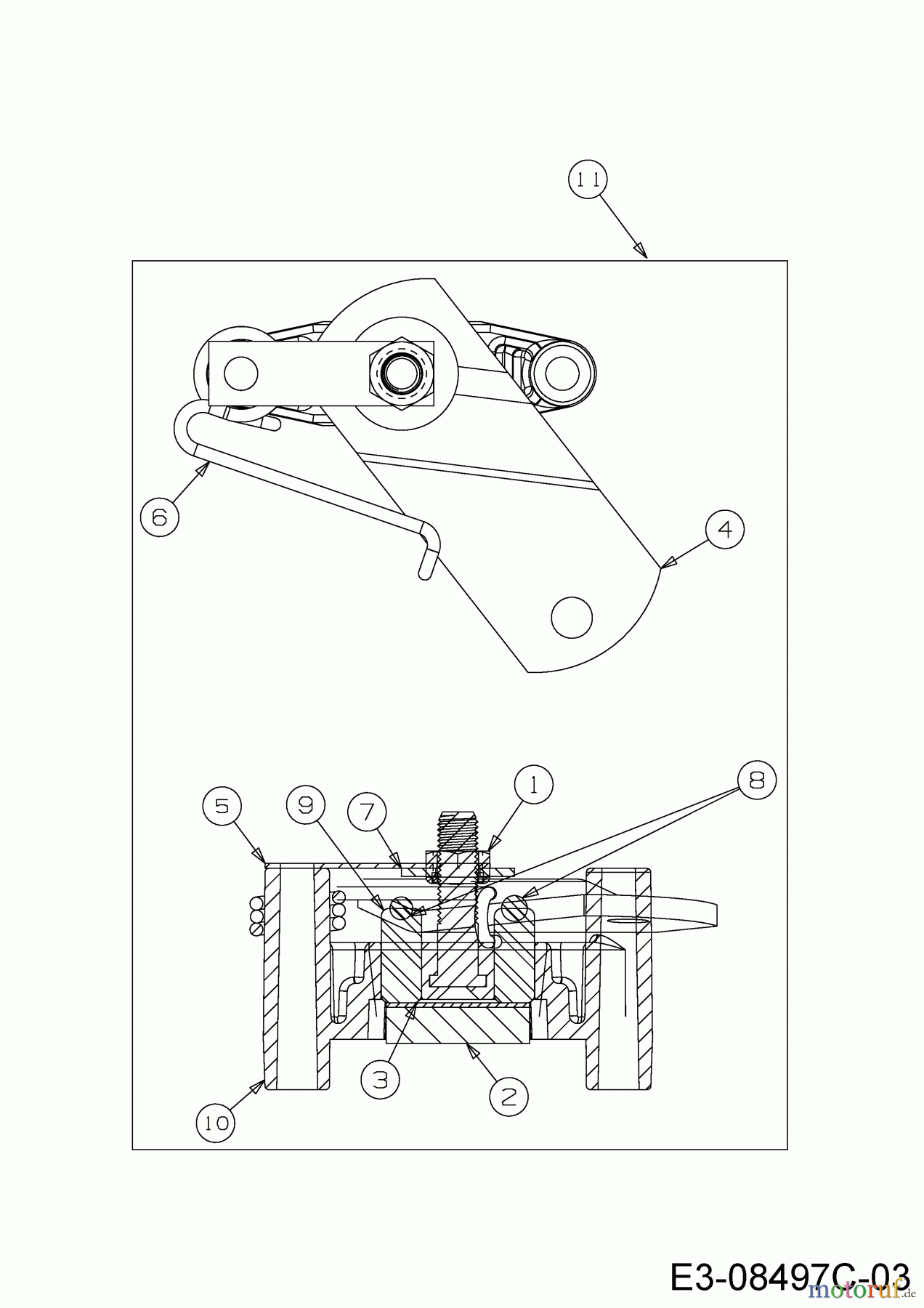
Troy-Bilt Bronco 42 13WX78KS066 (2015) Bremse Ersatzteile
Bremse 13WX78KS066 (2015)

Hier finden Sie die Ersatzteilzeichnung für Troy-Bilt Rasentraktoren Bronco 42 13WX78KS066 (2015) Bremse. Wählen Sie das benötigte Ersatzteil aus der Ersatzteilliste Ihres Troy-Bilt Gerätes aus und bestellen Sie einfach online. Viele Troy-Bilt Ersatzteile halten wir ständig in unserem Lager für Sie bereit.


Qualitätsmanagement
Informieren Sie uns, wenn Sie einen Fehler gefunden haben.






