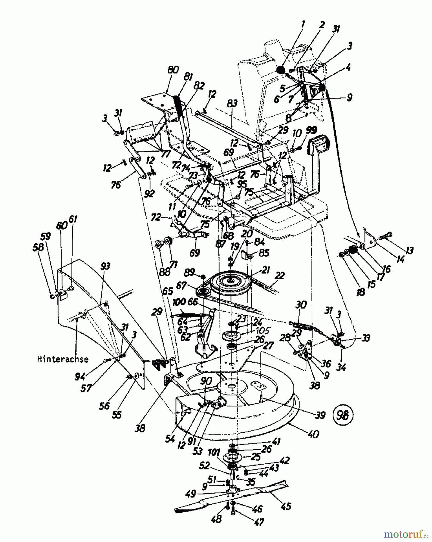
Columbia RD 11/660 138-5240 (1988) Mähwerk 26"/66cm Ersatzteile
Mähwerk 26"/66cm 138-5240 (1988)

Hier finden Sie die Ersatzteilzeichnung für Columbia Rasentraktoren RD 11/660 138-5240 (1988) Mähwerk 26"/66cm. Wählen Sie das benötigte Ersatzteil aus der Ersatzteilliste Ihres Columbia Gerätes aus und bestellen Sie einfach online. Viele Columbia Ersatzteile halten wir ständig in unserem Lager für Sie bereit.






























