Columbia 114/107 N 133S619G626 (1993) Fahrantrieb, Motorkeilriemenscheibe, Pedal Ersatzteile
Fahrantrieb, Motorkeilriemenscheibe, Pedal 133S619G626 (1993)

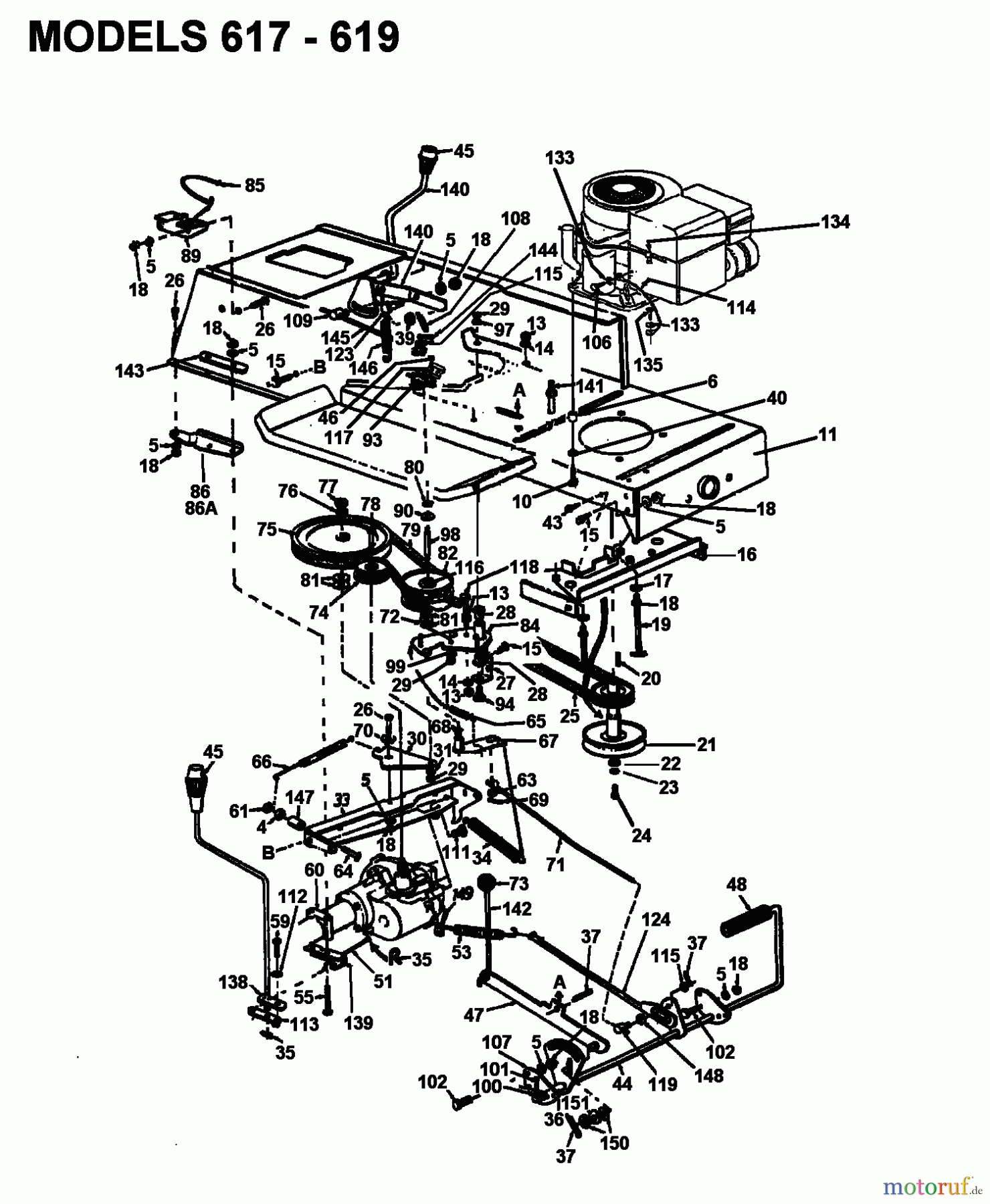
Hier finden Sie die Ersatzteilzeichnung für Columbia Rasentraktoren 114/107 N 133S619G626 (1993) Fahrantrieb, Motorkeilriemenscheibe, Pedal. Wählen Sie das benötigte Ersatzteil aus der Ersatzteilliste Ihres Columbia Gerätes aus und bestellen Sie einfach online. Viele Columbia Ersatzteile halten wir ständig in unserem Lager für Sie bereit.
Häufig benötigte Columbia 114/107 N 133S619G626 (1993) Fahrantrieb, Motorkeilriemenscheibe, Pedal Ersatzteile

Artikelnummer: 754-0370
Suche nach: 754-0370
Hersteller: MTD
Columbia Ersatzteil Fahrantrieb, Motorkeilriemenscheibe, Pedal
Suche nach: 754-0370
Hersteller: MTD
Columbia Ersatzteil Fahrantrieb, Motorkeilriemenscheibe, Pedal
35.83 €
für EU incl. MwSt., zzgl. Versand


Qualitätsmanagement
Informieren Sie uns, wenn Sie einen Fehler gefunden haben.










































