Wolf-Garten Li-Ion Power 34 4919000 (2014) Messer, Motor ab 29.02.2012 Ersatzteile
Messer, Motor ab 29.02.2012 4919000 (2014)

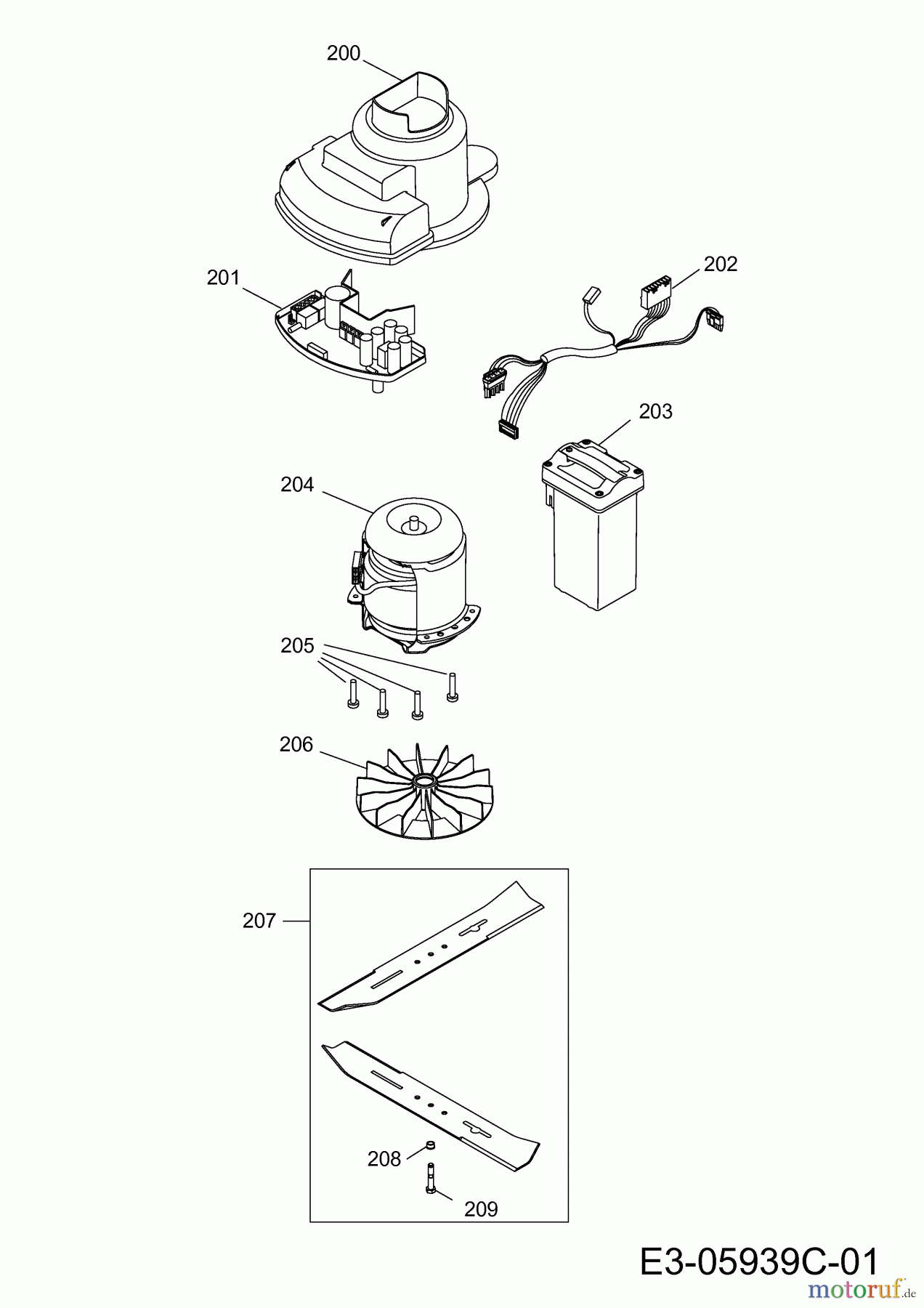
Hier finden Sie die Ersatzteilzeichnung für Wolf-Garten Akkumäher Li-Ion Power 34 4919000 (2014) Messer, Motor ab 29.02.2012. Wählen Sie das benötigte Ersatzteil aus der Ersatzteilliste Ihres Wolf-Garten Gerätes aus und bestellen Sie einfach online. Viele Wolf-Garten Ersatzteile halten wir ständig in unserem Lager für Sie bereit.




