Ryobi Benzin RLM1956ME Vergaser Ersatzteile
Vergaser RLM1956ME

Hier finden Sie die Ersatzteilzeichnung für Ryobi Rasenmäher Benzin RLM1956ME Vergaser. Wählen Sie das benötigte Ersatzteil aus der Ersatzteilliste Ihres Ryobi Gerätes aus und bestellen Sie einfach online. Viele Ryobi Ersatzteile halten wir ständig in unserem Lager für Sie bereit.
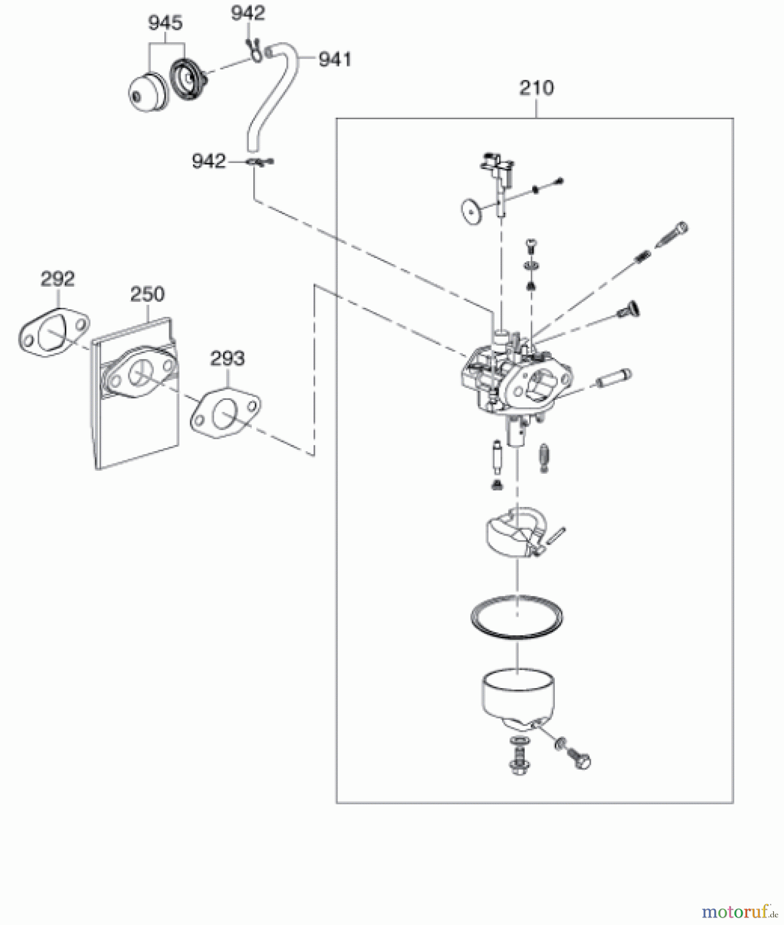
| BildNr | Artikel Nummer | Bezeichnung | |
| 210 | 5131027913 | CARBURETOR | |
| 250 | 5131027914 | INSULATOR | |
| 292 | 5131027915 | GASKET | |
| 293 | 5131027916 | GASKET | |
| 941 | 5131027917 | TUBE | |
| 942 | 5131027918 | CLAMP | |
| 945 | 5131027919 | PUMP | |



