MTD-Motoren 6X65RU 752Z6X65RU (2014) Vergaser Ersatzteile
Vergaser 752Z6X65RU (2014)

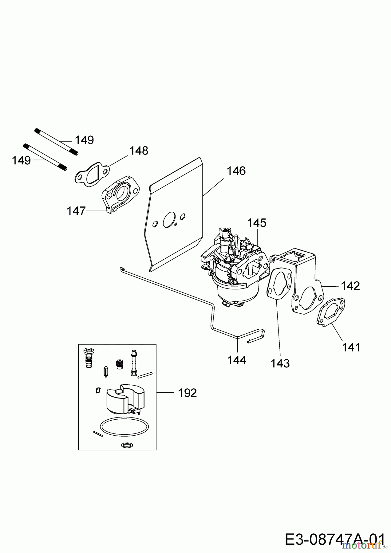
Hier finden Sie die Ersatzteilzeichnung für MTD-Motoren Vertikal 6X65RU 752Z6X65RU (2014) Vergaser. Wählen Sie das benötigte Ersatzteil aus der Ersatzteilliste Ihres MTD-Motoren Gerätes aus und bestellen Sie einfach online. Viele MTD-Motoren Ersatzteile halten wir ständig in unserem Lager für Sie bereit.
| BildNr | Artikel Nummer | Bezeichnung | |
| 141 | 751-14419 | DICHTUNG LUFTFILTERGEHÄUSE | |
| 142 | 751-14420 | HALTER THERMOSTAT | |
| 143 | 751-14422 | DICHTUNG | |
| 144 | 751-14421 | GESTÄNGE | |
| 145 | 751-14423 | VERGASER | |
| 146 | 751-14424 | DICHTUNG VERGASER | |
| 147 | 751-11738 | ISOLIERPLATTE | |
| 148 | 751-11528 | DICHTUNG | |
| 149 | 751-14425 | STEHBOLZEN M6X87 | |
| 192 | 751-14758 | VERGASERREPARATURSATZ | |


Qualitätsmanagement
Informieren Sie uns, wenn Sie einen Fehler gefunden haben.

