MTD-Motoren 1P65WHB 752Z1P65WHB (2010) Luftfilter, Vergaser Ersatzteile
Luftfilter, Vergaser 752Z1P65WHB (2010)

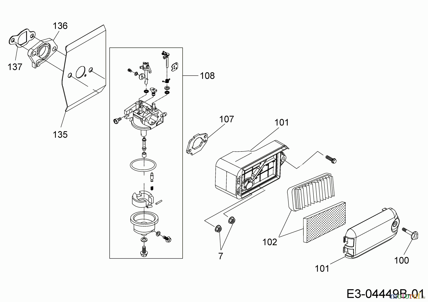
Hier finden Sie die Ersatzteilzeichnung für MTD-Motoren Vertikal 1P65WHB 752Z1P65WHB (2010) Luftfilter, Vergaser. Wählen Sie das benötigte Ersatzteil aus der Ersatzteilliste Ihres MTD-Motoren Gerätes aus und bestellen Sie einfach online. Viele MTD-Motoren Ersatzteile halten wir ständig in unserem Lager für Sie bereit.
| BildNr | Artikel Nummer | Bezeichnung | |
| 7 | 712-04212 | MUTTER M6 | |
| 100 | ![]() | 751-10297 | LUFTFILTER SCHRAUBE |
| 101 | 751-10405 | LUFTFILTERGEHÄUSE VOLLST. | |
| 102 | ![]() | 751-10298 | LUFTFILTER KIT |
| 107 | 751-11525 | VERGASER DICHTPLATTE | |
| 108 | 751-12165 | VERGASER VOLLST. | |
| 135 | 751-11526 | DICHTUNG VERGASER | |
| 136 | 751-11738 | ISOLIERPLATTE | |
| 137 | 751-11528 | DICHTUNG | |


Qualitätsmanagement
Informieren Sie uns, wenn Sie einen Fehler gefunden haben.



