Dolmar Benzin 4-Takt MS-352.4 C 2 Kurbelwelle, Kolben Ersatzteile
2 Kurbelwelle, Kolben MS-352.4 C

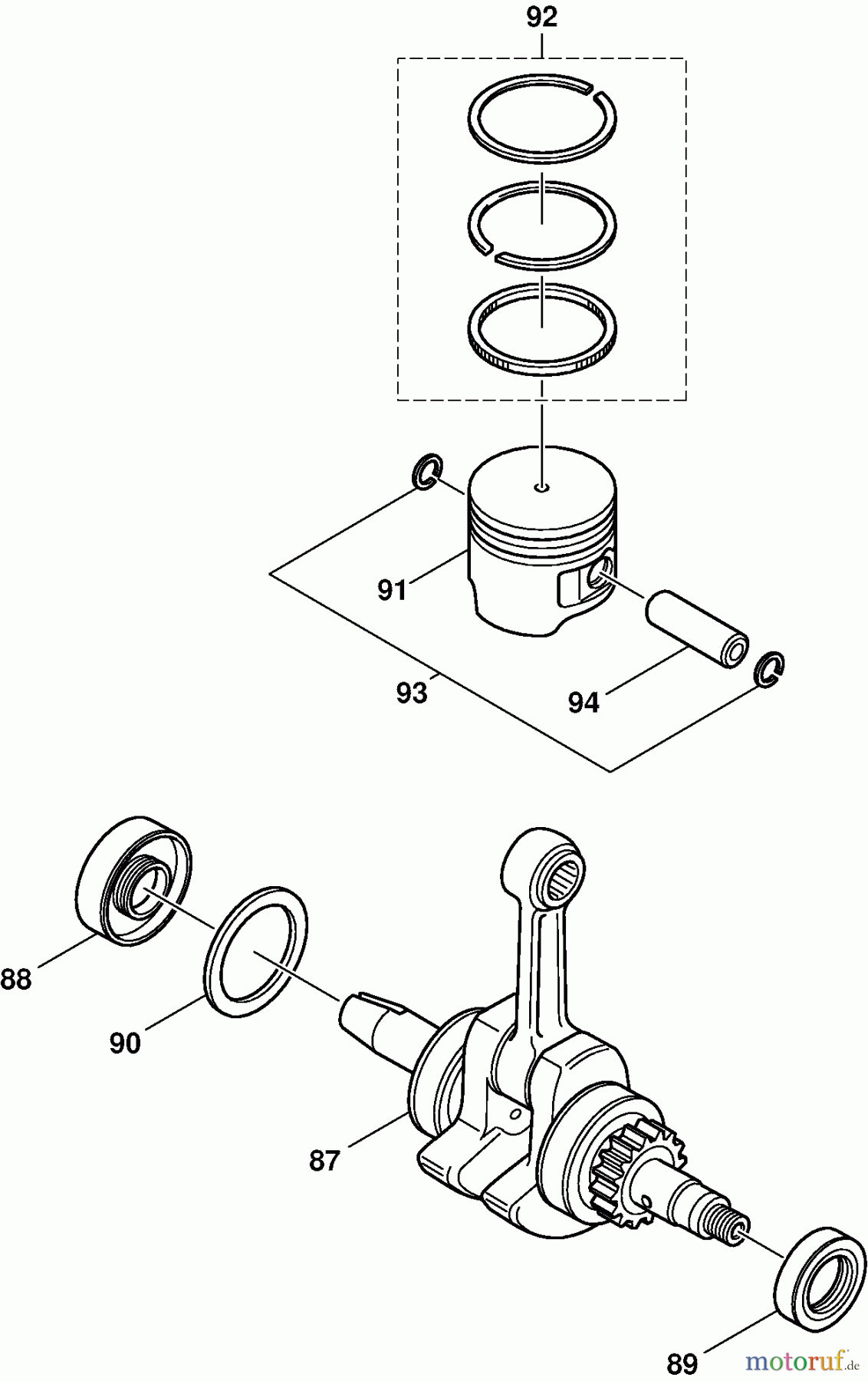
Hier finden Sie die Ersatzteilzeichnung für Dolmar Motorsensen & Trimmer Benzin 4-Takt MS-352.4 C 2 Kurbelwelle, Kolben. Wählen Sie das benötigte Ersatzteil aus der Ersatzteilliste Ihres Dolmar Gerätes aus und bestellen Sie einfach online. Viele Dolmar Ersatzteile halten wir ständig in unserem Lager für Sie bereit.
| BildNr | Artikel Nummer | Bezeichnung | |
| 87 | 374200300 | KURBELWELLE KPL. | |
| 88 | 213537-0 | ÖLDICHTUNG 12 | |
| 89 | 213148-1 | ÖLDICHTUNG 10 | |
| 90 | 367250100 | DISTANZRING | |
| 91 | 318613-6 | KOLBEN | |
| 92 | 367195141 | KOLBENRING-SET | |
| 93 | 367233983 | SPRENGRING | |
| 94 | 374250090 | KOLBENBOLZEN | |



