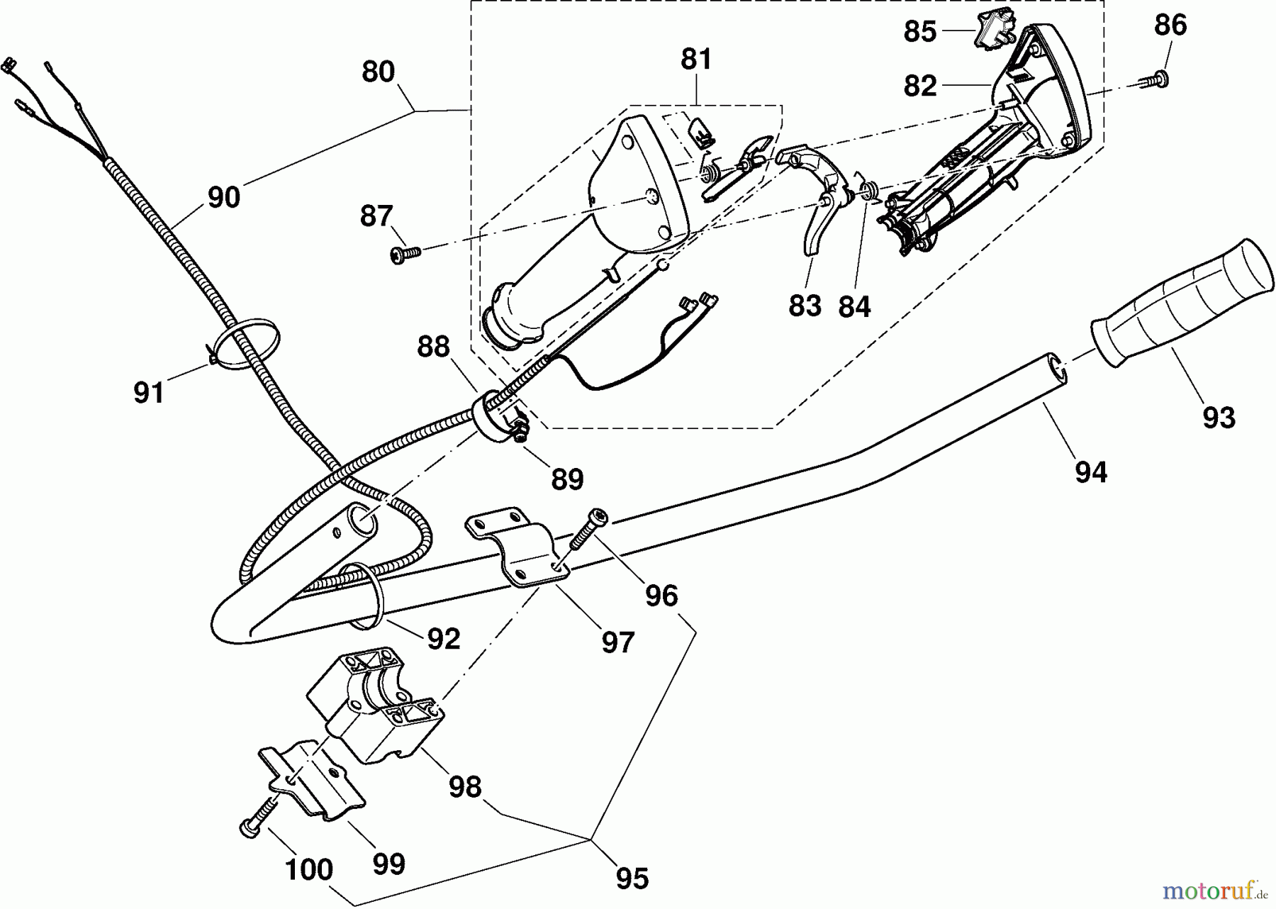
Dolmar Benzin 2-Takt MS-31 U 5 Gasgriff, Handgriff Ersatzteile
5 Gasgriff, Handgriff MS-31 U

Hier finden Sie die Ersatzteilzeichnung für Dolmar Motorsensen & Trimmer Benzin 2-Takt MS-31 U 5 Gasgriff, Handgriff. Wählen Sie das benötigte Ersatzteil aus der Ersatzteilliste Ihres Dolmar Gerätes aus und bestellen Sie einfach online. Viele Dolmar Ersatzteile halten wir ständig in unserem Lager für Sie bereit.



