Einstellungen Computer

Dolmar Benzin 2-Takt MS-31 C 7 Schaftrohr, Getriebe, Schutzhaube Ersatzteile

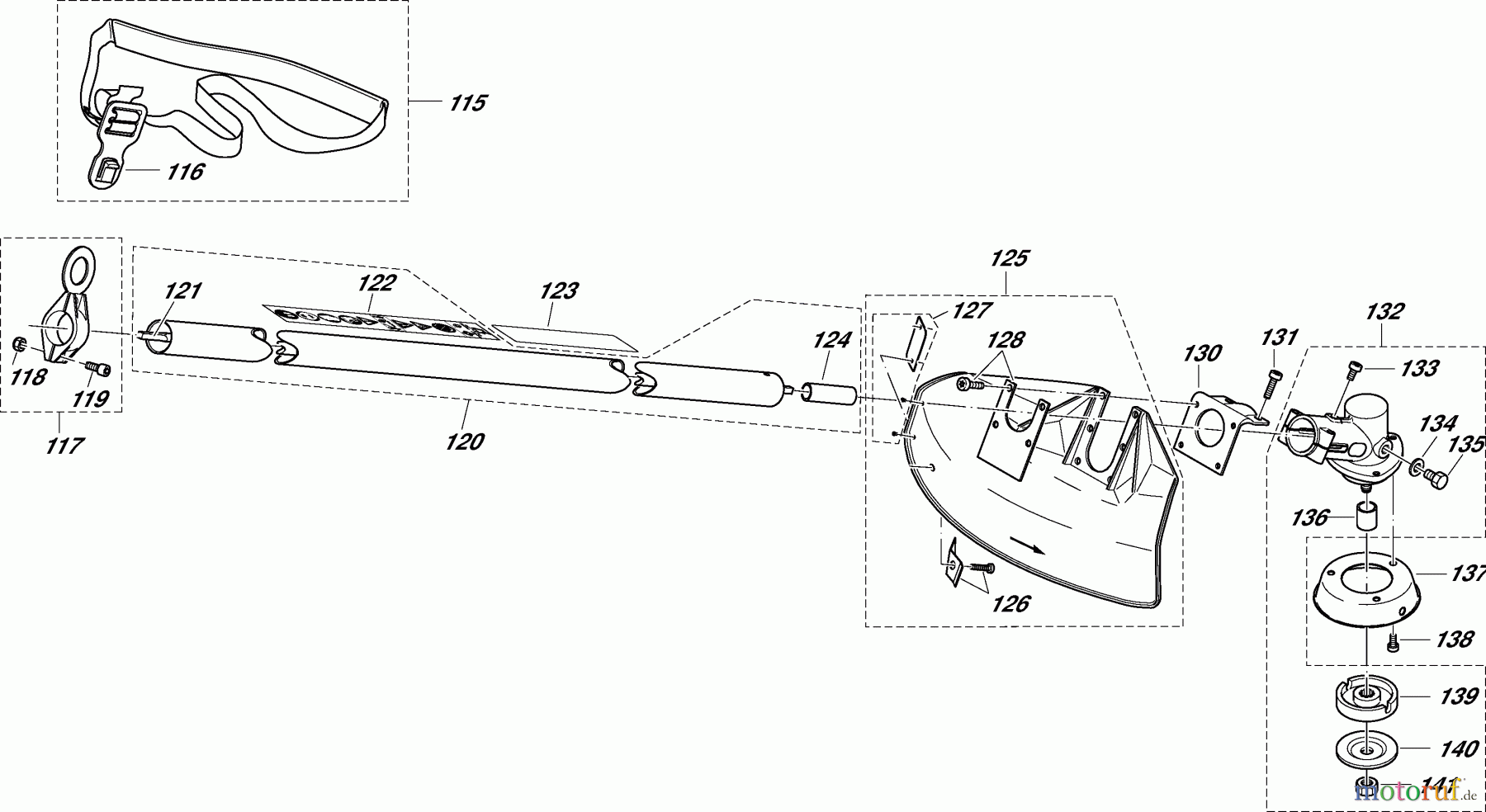
7 Schaftrohr, Getriebe, Schutzhaube MS-31 C

 Dolmar Motorsensen & Trimmer Benzin 2-Takt MS-31 C 7  Schaftrohr, Getriebe, Schutzhaube

Hier finden Sie die Ersatzteilzeichnung für Dolmar Motorsensen & Trimmer Benzin 2-Takt MS-31 C 7 Schaftrohr, Getriebe, Schutzhaube. Wählen Sie das benötigte Ersatzteil aus der Ersatzteilliste Ihres Dolmar Gerätes aus und bestellen Sie einfach online. Viele Dolmar Ersatzteile halten wir ständig in unserem Lager für Sie bereit.

Rasen
Bankeinzug, MasterCard, Visa, American Express, PayPal, Nachnahme, Vorauskasse, Sofortüberweisung
Datenschutzerklärung Impressum
Qualitätsmanagement
Informieren Sie uns, wenn Sie einen Fehler gefunden haben.