Dolmar Benzin 2-Takt MS-26 C 4 Vergaser, Luftfilter Ersatzteile
4 Vergaser, Luftfilter MS-26 C

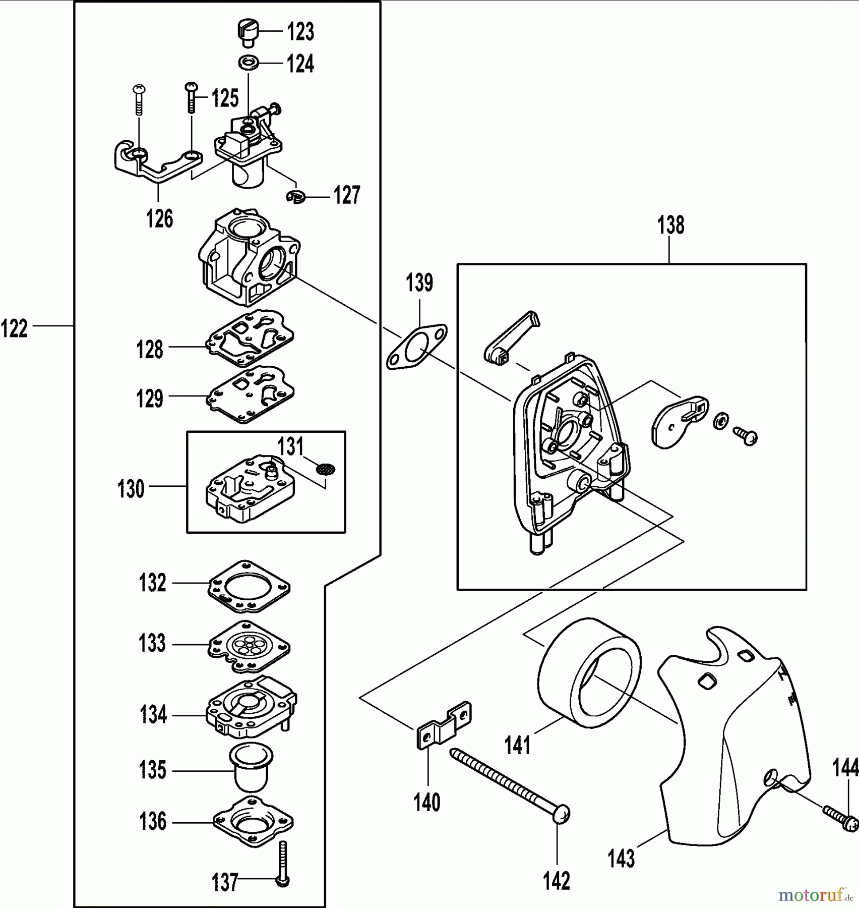
Hier finden Sie die Ersatzteilzeichnung für Dolmar Motorsensen & Trimmer Benzin 2-Takt MS-26 C 4 Vergaser, Luftfilter. Wählen Sie das benötigte Ersatzteil aus der Ersatzteilliste Ihres Dolmar Gerätes aus und bestellen Sie einfach online. Viele Dolmar Ersatzteile halten wir ständig in unserem Lager für Sie bereit.
| BildNr | Artikel Nummer | Bezeichnung | |
| 122 | 5266009000 | VERGASER | |
| 123 | 374600121 | NOCKEN | |
| 124 | 5426005030 | SCHEIBE | |
| 125 | 5266009020 | SCHRAUBE | |
| 126 | 367600903 | BOWDENZUGHALTER | |
| 127 | 257964-1 | SICHERUNGSRING E-3 | |
| 128 | 442155-9 | PUMPENDICHTUNG | |
| 129 | ![]() | WJ00009599 | PUMPENMEMBRAN |
| 130 | 377600201 | PUMPENKÖRPER KPL. | |
| 131 | WJ00014070 | SIEB | |
| 132 | 442154-1 | DICHTUNG | |
| 133 | ![]() | 168620-7 | STEUERMEMBRAN |
| 134 | 374604606 | PUMPENABDECKUNG | |
| 135 | ![]() | 424314-7 | PRIMER PUMPE |
| 136 | 5236046050 | PRIMERDECKEL | |
| 137 | 367266582 | BLECHSCHRAUBE 3X24 | |
| 138 | 5263005000 | LUFTFILTERBODEN KPL. | |
| 139 | 413158-0 | DICHTUNG | |
| 140 | 381350240 | SCHELLE | |
| 141 | 374350130 | LUFTFILTER | |
| 142 | 374310560 | SCHRAUBE M5X60 | |
| 143 | 450403-2 | LUFTFILTERDECKEL | |
| 144 | 367911233 | KOMBI-SCHRAUBE M5X20 | |






