Dolmar Benzin Kettensäge PS9010 9 Schalldämpfer Ersatzteile
9 Schalldämpfer PS9010

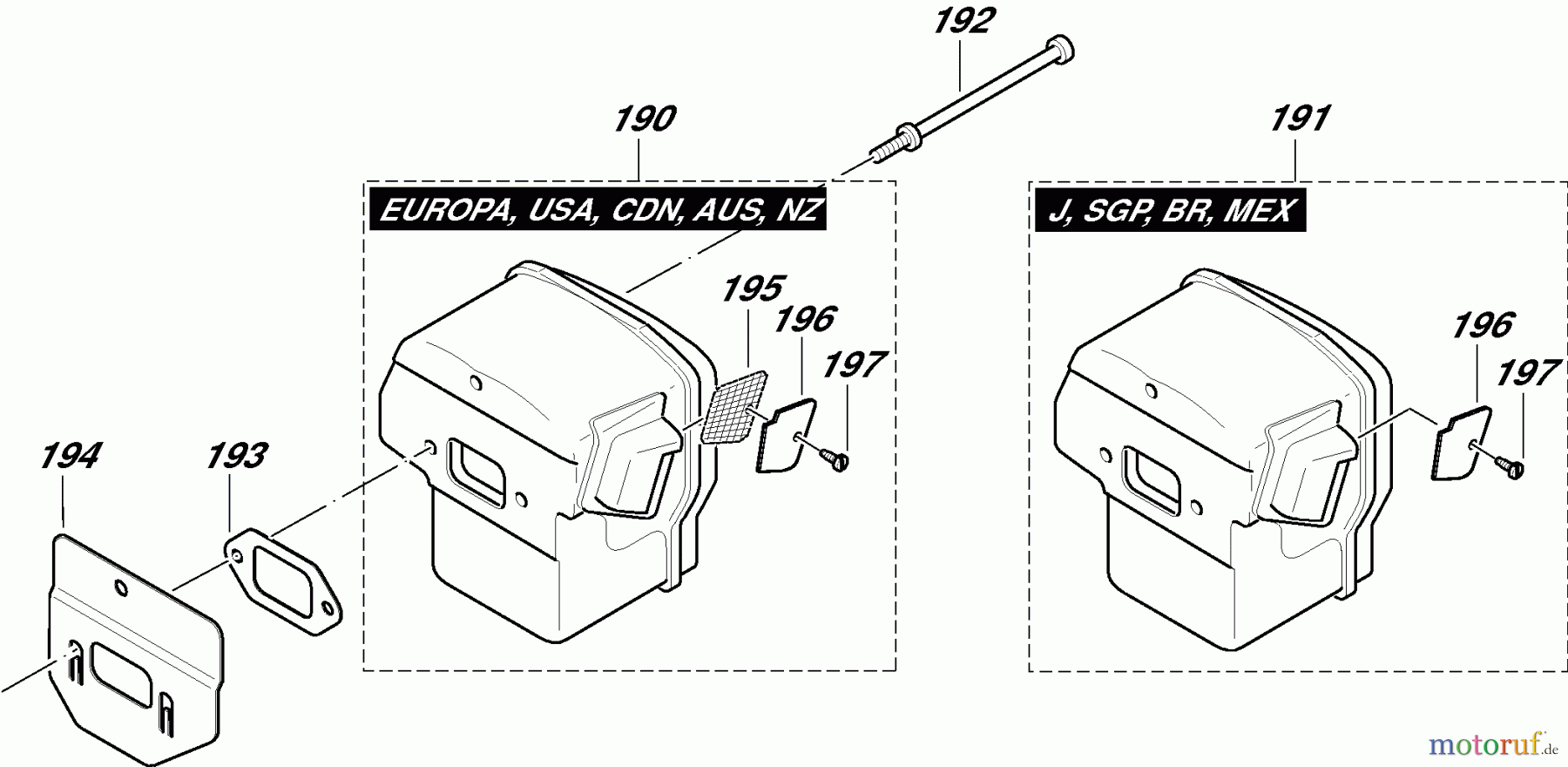
Hier finden Sie die Ersatzteilzeichnung für Dolmar Kettensägen Benzin Kettensäge PS9010 9 Schalldämpfer. Wählen Sie das benötigte Ersatzteil aus der Ersatzteilliste Ihres Dolmar Gerätes aus und bestellen Sie einfach online. Viele Dolmar Ersatzteile halten wir ständig in unserem Lager für Sie bereit.
| BildNr | Artikel Nummer | Bezeichnung | |
| 190 | 024174153 | SCHALLDäMPFER KPL. | |
| 191 | 024174180 | SCHALLDäMPFER KPL. | |
| 192 | 024174020 | SPEZIALSCHRAUBE M6 | |
| 193 | 965525101 | DICHTUNG | |
| 194 | 024174041 | ABSCHIRMBLECH | |
| 195 | 024174160 | FUNKENSCHUTZSIEB | |
| 196 | 024174171 | AUSTRITTBLENDE | |
| 197 | 650008668 | SCHRAUBE 4,2X9,5 | |


Qualitätsmanagement
Informieren Sie uns, wenn Sie einen Fehler gefunden haben.

