Dolmar Benzin Kettensäge PS-52 5 Zündelektronik, Anwerfvorrichtung Ersatzteile
5 Zündelektronik, Anwerfvorrichtung PS-52

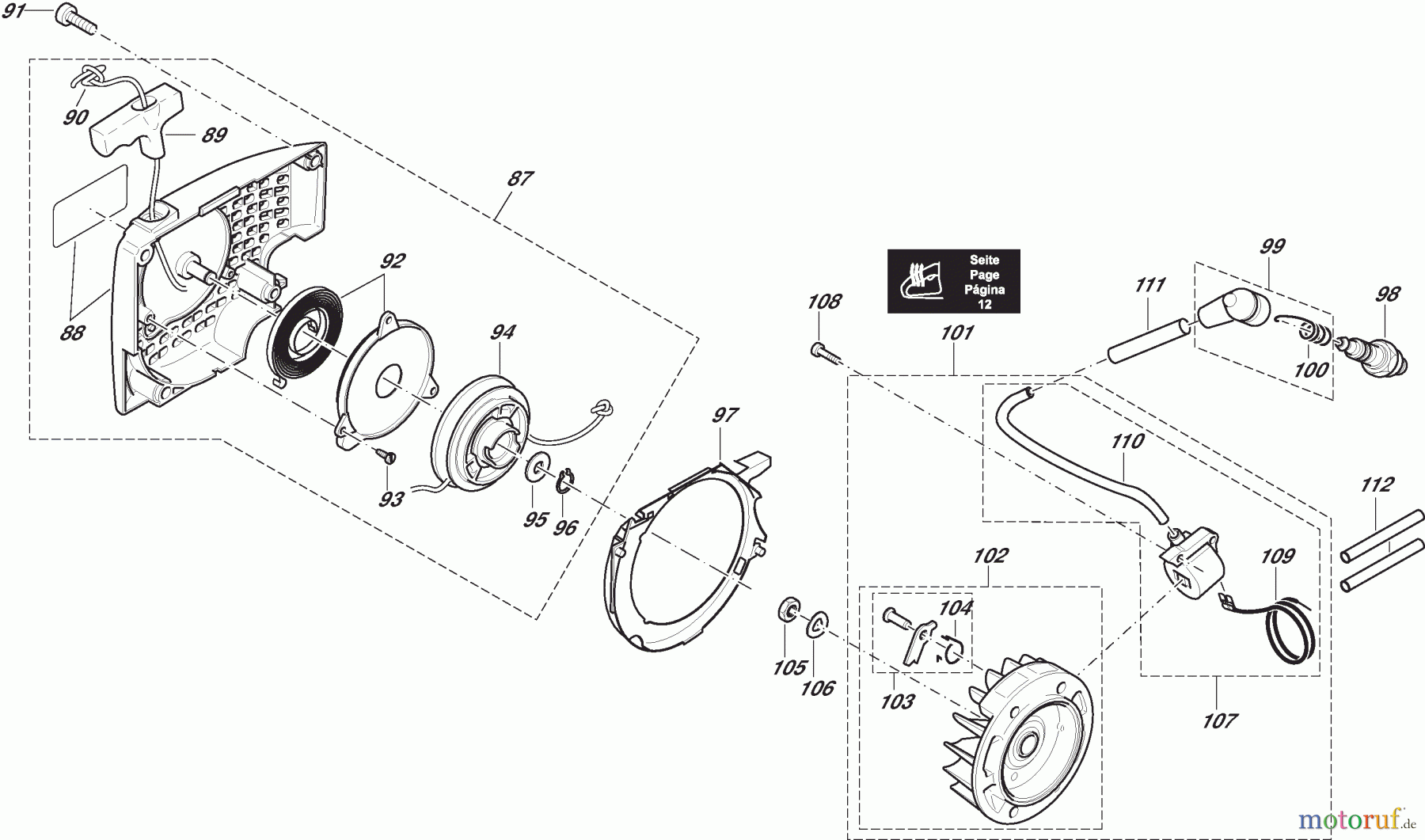
Hier finden Sie die Ersatzteilzeichnung für Dolmar Kettensägen Benzin Kettensäge PS-52 5 Zündelektronik, Anwerfvorrichtung. Wählen Sie das benötigte Ersatzteil aus der Ersatzteilliste Ihres Dolmar Gerätes aus und bestellen Sie einfach online. Viele Dolmar Ersatzteile halten wir ständig in unserem Lager für Sie bereit.
Häufig benötigte Dolmar Benzin Kettensäge PS-52 5 Zündelektronik, Anwerfvorrichtung Ersatzteile

Artikelnummer: DR108164020
Suche nach: 108164020
Hersteller: Dolmar
Dolmar Ersatzteil 5 Zündelektronik, Anwerfvorrichtung
Suche nach: 108164020
Hersteller: Dolmar
Dolmar Ersatzteil 5 Zündelektronik, Anwerfvorrichtung
3.75 €
für EU incl. MwSt., zzgl. Versand

Artikelnummer: DR970310200
Suche nach: 970310200
Hersteller: Dolmar
Dolmar Ersatzteil 5 Zündelektronik, Anwerfvorrichtung
Suche nach: 970310200
Hersteller: Dolmar
Dolmar Ersatzteil 5 Zündelektronik, Anwerfvorrichtung
6.34 €
für EU incl. MwSt., zzgl. Versand





