Toro 58200 - 26" Tiller, 1969 (9000001-9999999) CARBURETOR MODEL NO. 630994A Ersatzteile
CARBURETOR MODEL NO. 630994A 58200 - Toro 26" Tiller, 1969 (9000001-9999999)

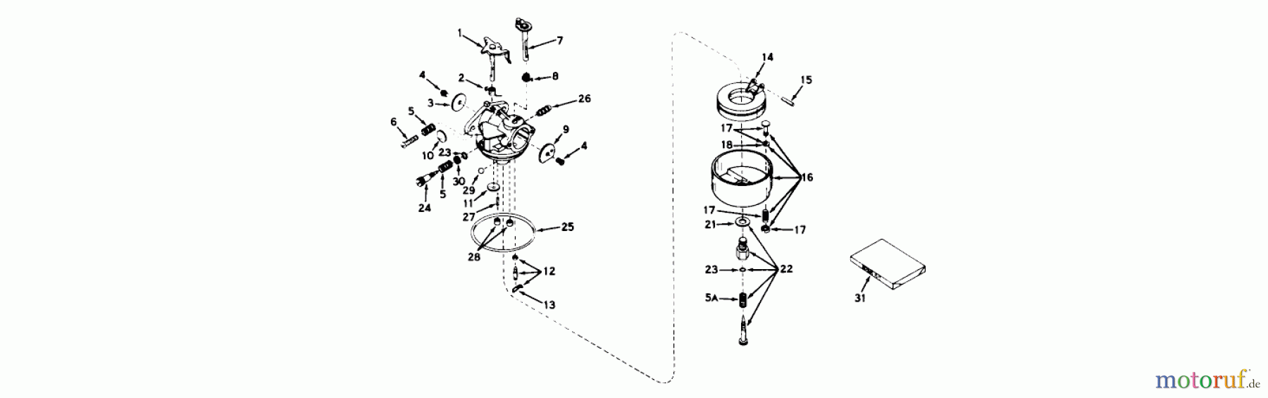
Hier finden Sie die Ersatzteilzeichnung für Toro Neu Tillers/Cultivators 58200 - Toro 26" Tiller, 1969 (9000001-9999999) CARBURETOR MODEL NO. 630994A. Wählen Sie das benötigte Ersatzteil aus der Ersatzteilliste Ihres Toro Gerätes aus und bestellen Sie einfach online. Viele Toro Ersatzteile halten wir ständig in unserem Lager für Sie bereit.




