Toro 6-0202 - 37" Snowthrower, 1975 PARTS LIST FOR 6-0202 SNOW THROWER-FACTORY ORDER NUMBER 6-0202 Ersatzteile
PARTS LIST FOR 6-0202 SNOW THROWER-FACTORY ORDER NUMBER 6-0202 6-0202 - Toro 37" Snowthrower, 1975

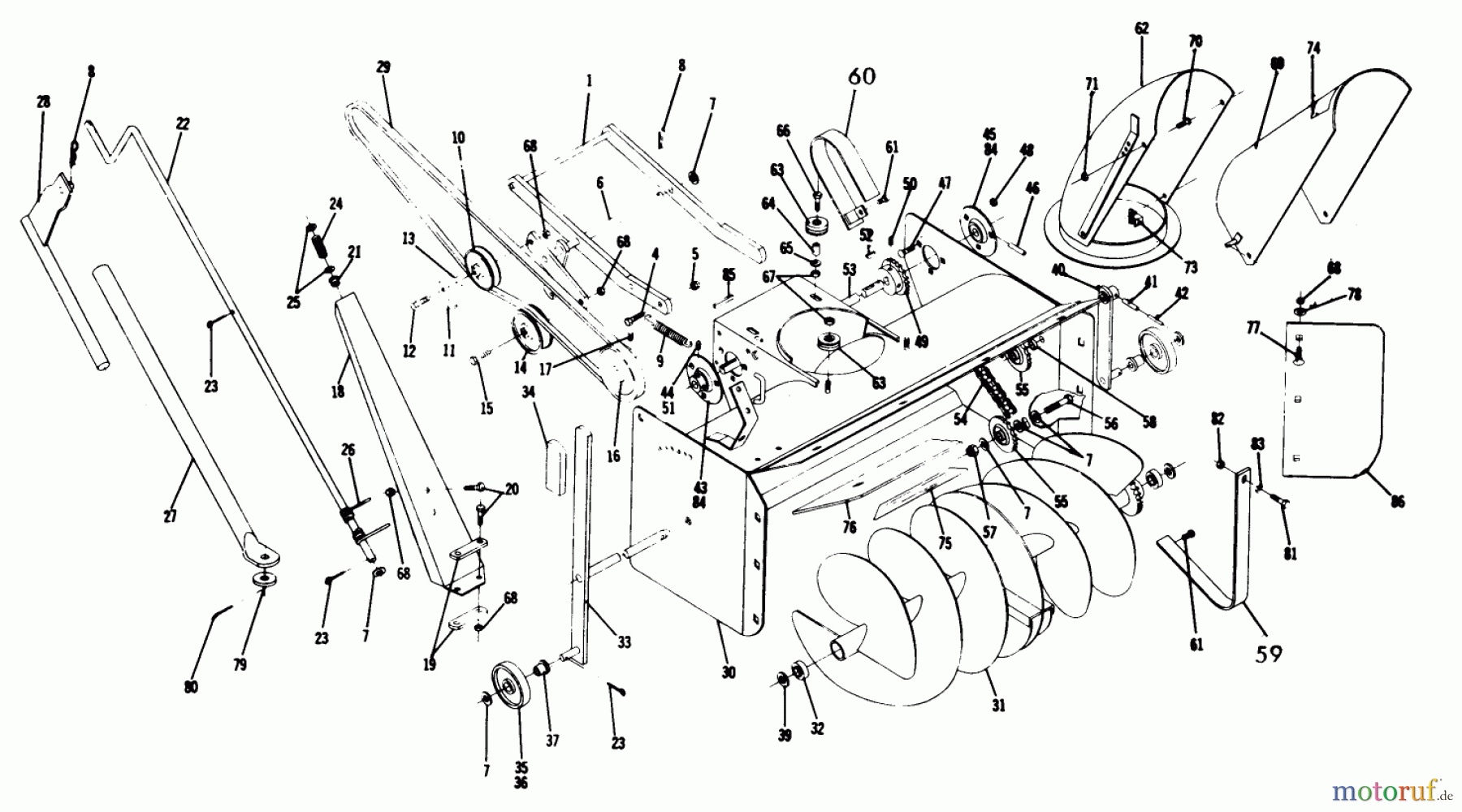
Hier finden Sie die Ersatzteilzeichnung für Toro Neu Snow Blowers/Snow Throwers Seite 2 6-0202 - Toro 37" Snowthrower, 1975 PARTS LIST FOR 6-0202 SNOW THROWER-FACTORY ORDER NUMBER 6-0202. Wählen Sie das benötigte Ersatzteil aus der Ersatzteilliste Ihres Toro Gerätes aus und bestellen Sie einfach online. Viele Toro Ersatzteile halten wir ständig in unserem Lager für Sie bereit.


Qualitätsmanagement
Informieren Sie uns, wenn Sie einen Fehler gefunden haben.

