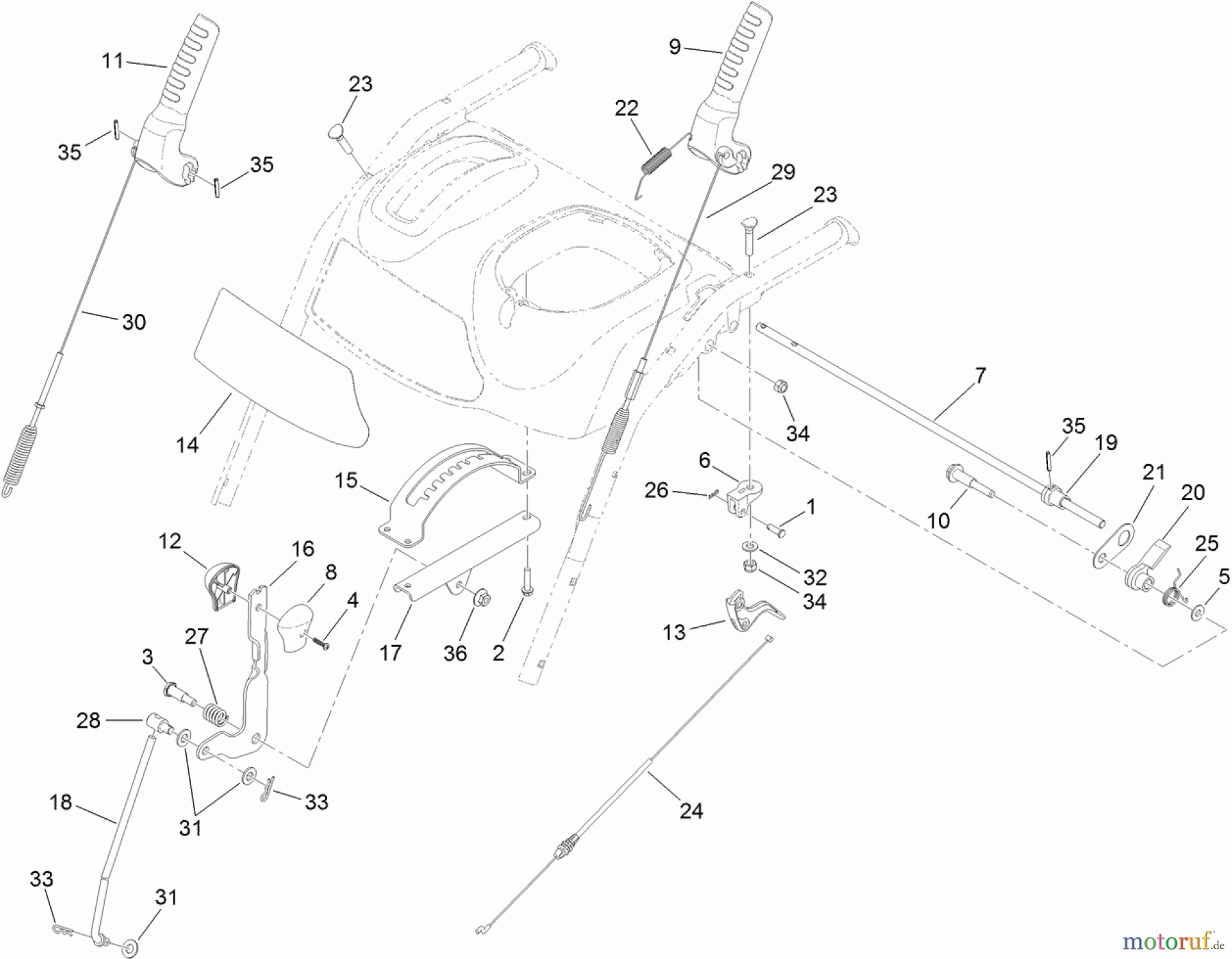
Toro 38822 (928 OXE) - Power Max Heavy Duty 928 OXE Snowthrower, 2013 (SN 313000001-313999999) HANDLE AND CONTROL ASSEMBLY Ersatzteile
HANDLE AND CONTROL ASSEMBLY 38822 (928 OXE) - Toro Power Max Heavy Duty 928 OXE Snowthrower, 2013 (SN 313000001-313999999)

Hier finden Sie die Ersatzteilzeichnung für Toro Neu Snow Blowers/Snow Throwers Seite 2 38822 (928 OXE) - Toro Power Max Heavy Duty 928 OXE Snowthrower, 2013 (SN 313000001-313999999) HANDLE AND CONTROL ASSEMBLY. Wählen Sie das benötigte Ersatzteil aus der Ersatzteilliste Ihres Toro Gerätes aus und bestellen Sie einfach online. Viele Toro Ersatzteile halten wir ständig in unserem Lager für Sie bereit.




