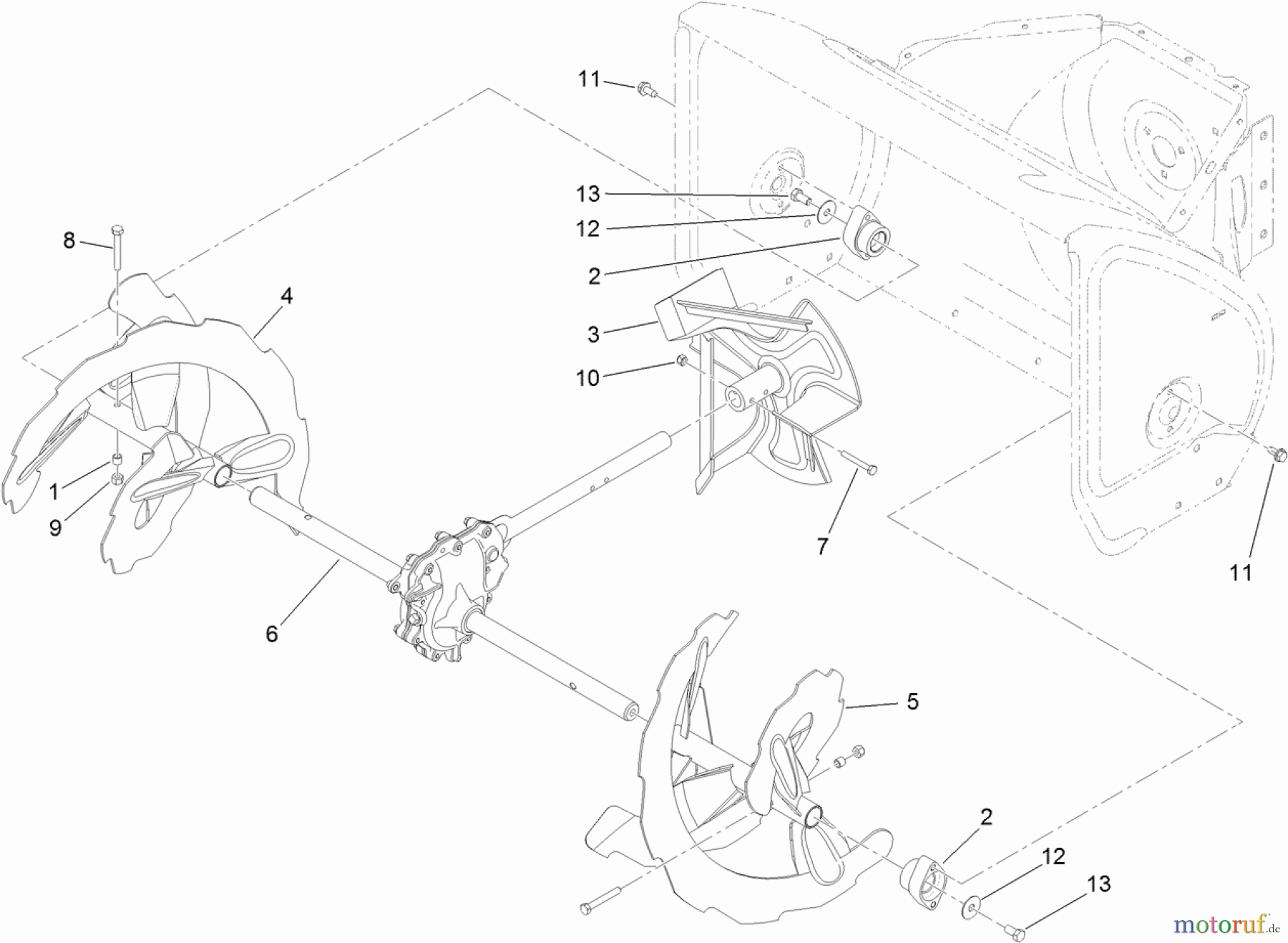
Toro 38662 (928 OXE) - Power Max 928 OXE Snowthrower, 2012 (SN 312000001-312999999) AUGER AND IMPELLER ASSEMBLY Ersatzteile
AUGER AND IMPELLER ASSEMBLY 38662 (928 OXE) - Toro Power Max 928 OXE Snowthrower, 2012 (SN 312000001-312999999)

Hier finden Sie die Ersatzteilzeichnung für Toro Neu Snow Blowers/Snow Throwers Seite 2 38662 (928 OXE) - Toro Power Max 928 OXE Snowthrower, 2012 (SN 312000001-312999999) AUGER AND IMPELLER ASSEMBLY. Wählen Sie das benötigte Ersatzteil aus der Ersatzteilliste Ihres Toro Gerätes aus und bestellen Sie einfach online. Viele Toro Ersatzteile halten wir ständig in unserem Lager für Sie bereit.


Qualitätsmanagement
Informieren Sie uns, wenn Sie einen Fehler gefunden haben.



