Toro 38606 (622R) - 622R Power Throw Snowthrower, 2009 (290000001-290999999) CARBURETOR ASSEMBLY NO. 640058A TECUMSEH OH195SA-72566G Ersatzteile
CARBURETOR ASSEMBLY NO. 640058A TECUMSEH OH195SA-72566G 38606 (622R) - Toro 622R Power Throw Snowthrower, 2009 (290000001-290999999)

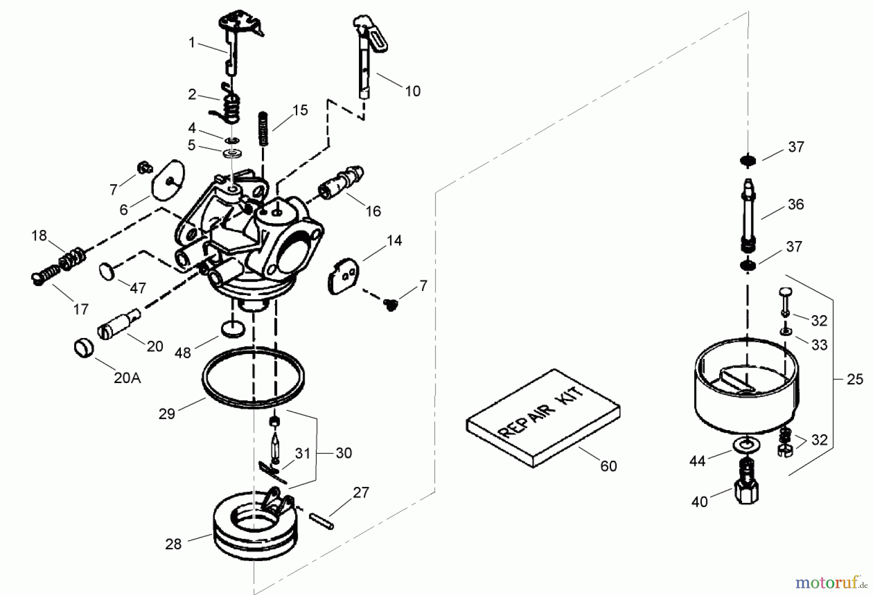
Hier finden Sie die Ersatzteilzeichnung für Toro Neu Snow Blowers/Snow Throwers Seite 2 38606 (622R) - Toro 622R Power Throw Snowthrower, 2009 (290000001-290999999) CARBURETOR ASSEMBLY NO. 640058A TECUMSEH OH195SA-72566G. Wählen Sie das benötigte Ersatzteil aus der Ersatzteilliste Ihres Toro Gerätes aus und bestellen Sie einfach online. Viele Toro Ersatzteile halten wir ständig in unserem Lager für Sie bereit.


Qualitätsmanagement
Informieren Sie uns, wenn Sie einen Fehler gefunden haben.




