Toro 38570 (828) - 828 Power Shift Snowthrower, 1991 (1000001-1999999) ENGINE BRIGGS & STRATTON MODEL 190406 TYPE 3104-01 #3 Ersatzteile
ENGINE BRIGGS & STRATTON MODEL 190406 TYPE 3104-01 #3 38570 (828) - Toro 828 Power Shift Snowthrower, 1991 (1000001-1999999)

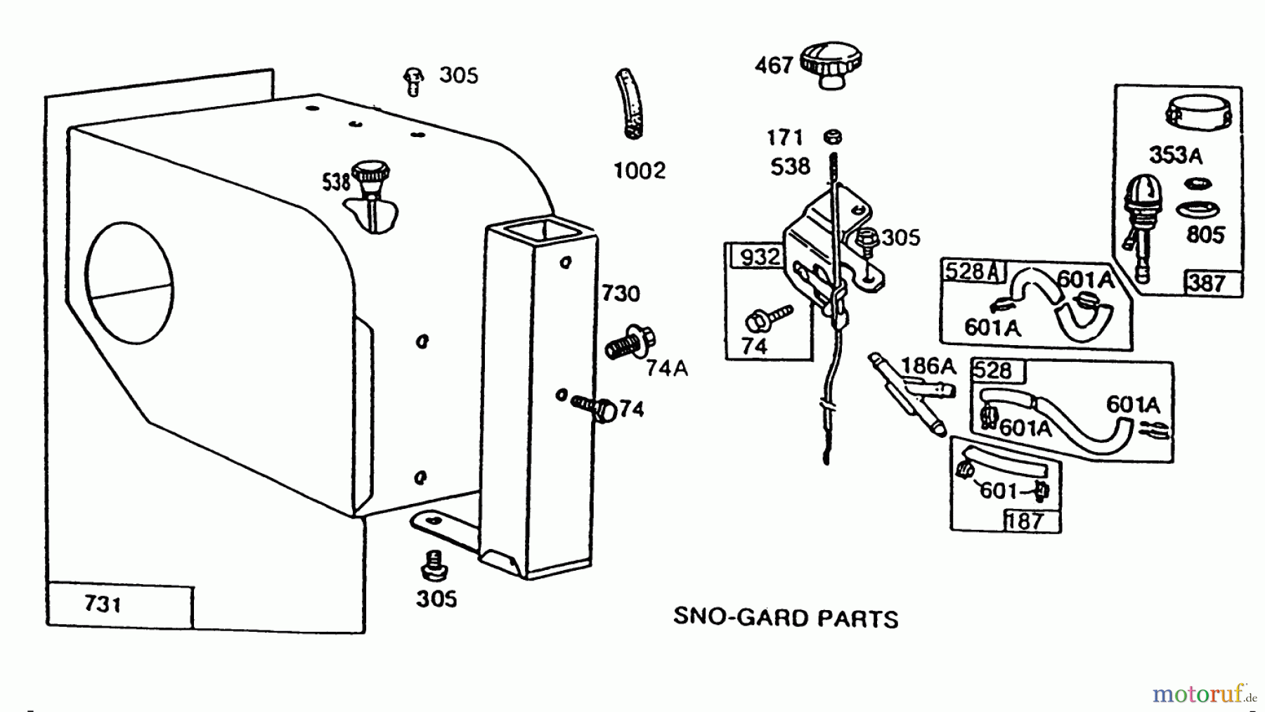
Hier finden Sie die Ersatzteilzeichnung für Toro Neu Snow Blowers/Snow Throwers Seite 1 38570 (828) - Toro 828 Power Shift Snowthrower, 1991 (1000001-1999999) ENGINE BRIGGS & STRATTON MODEL 190406 TYPE 3104-01 #3. Wählen Sie das benötigte Ersatzteil aus der Ersatzteilliste Ihres Toro Gerätes aus und bestellen Sie einfach online. Viele Toro Ersatzteile halten wir ständig in unserem Lager für Sie bereit.
| BildNr | Artikel Nummer | Bezeichnung | |
| 53A | BS93357 | ||
| 74 | BS93042 | ||
| 74A | ![]() | BS93490 | SCHRAUBE |
| 171 | BS90356 | ||
| 186A | BS280727 | VERBINDUNGSSTUECK | |
| 187 | BS393815 | BENZINLEITUNG | |
| 305 | BS93158 | ||
| 353A | BS94281 | FEDERRING | |
| 387 | BS399255 | PRIMER | |
| 467 | BS231051 | SCHALTERKNOPF | |
| 474 | BS391595 | STATOR | |
| 528 | BS399254 | ROHR | |
| 528A | BS399256 | INJECTOR-ROHR | |
| 538 | BS262549 | HEBEL | |
| 601 | BS93053 | SCHLAUCHKLEMME | |
| 601A | BS94171 | ||
| 730 | BS299384 | ROHR | |
| 731 | BS493221 | KURBELWELLE | |
| 805 | BS94189 | SECHSKANT-MUTTER | |
| 932 | BS396084 | FUEHRUNG | |
| 1002 | BS280738 | LUEFTERGEH.-SCHUTZSCHILD | |


Qualitätsmanagement
Informieren Sie uns, wenn Sie einen Fehler gefunden haben.


