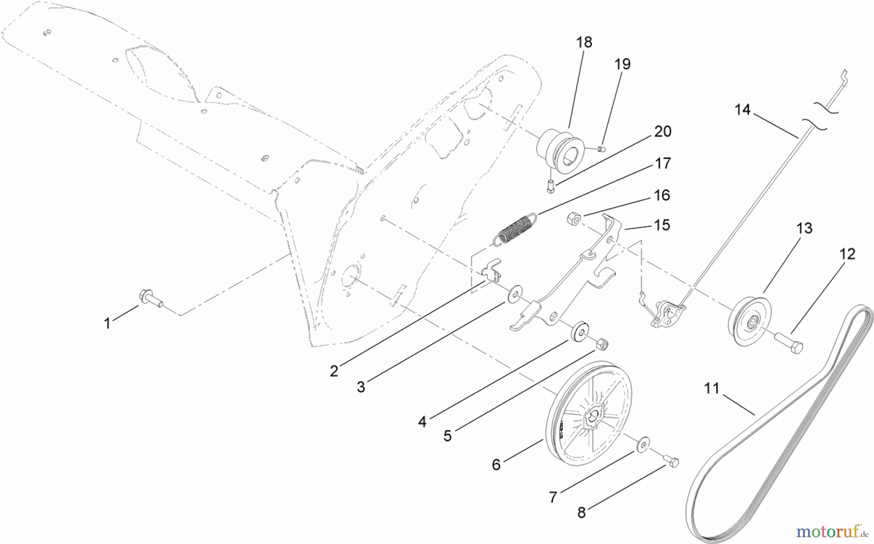
Toro 38569 (6053 ES) - CCR 6053 ES Quick Clear Snowthrower, 2013 (SN 313000001-313001999) ROTOR DRIVE ASSEMBLY Ersatzteile
ROTOR DRIVE ASSEMBLY 38569 (6053 ES) - Toro CCR 6053 ES Quick Clear Snowthrower, 2013 (SN 313000001-313001999)

Hier finden Sie die Ersatzteilzeichnung für Toro Neu Snow Blowers/Snow Throwers Seite 1 38569 (6053 ES) - Toro CCR 6053 ES Quick Clear Snowthrower, 2013 (SN 313000001-313001999) ROTOR DRIVE ASSEMBLY. Wählen Sie das benötigte Ersatzteil aus der Ersatzteilliste Ihres Toro Gerätes aus und bestellen Sie einfach online. Viele Toro Ersatzteile halten wir ständig in unserem Lager für Sie bereit.




