Toro 38547 (924) - 924 Power Shift Snowthrower, 2000 (200000001-200999999) AUGER GEARCASE ASSEMBLY NO. 74-1560 Ersatzteile
AUGER GEARCASE ASSEMBLY NO. 74-1560 38547 (924) - Toro 924 Power Shift Snowthrower, 2000 (200000001-200999999)

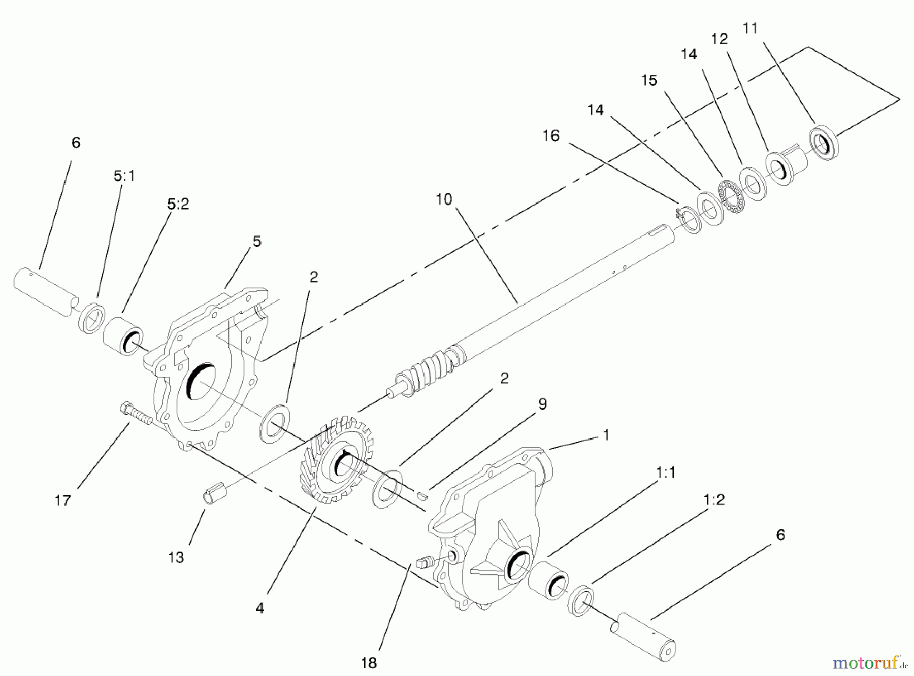
Hier finden Sie die Ersatzteilzeichnung für Toro Neu Snow Blowers/Snow Throwers Seite 1 38547 (924) - Toro 924 Power Shift Snowthrower, 2000 (200000001-200999999) AUGER GEARCASE ASSEMBLY NO. 74-1560. Wählen Sie das benötigte Ersatzteil aus der Ersatzteilliste Ihres Toro Gerätes aus und bestellen Sie einfach online. Viele Toro Ersatzteile halten wir ständig in unserem Lager für Sie bereit.
| BildNr | Artikel Nummer | Bezeichnung | |
| 1 | TR74-1570 | 110-3439 | |
| 1:1 | TR256-237 | BUSHING | |
| 1:2 | ![]() | TR7-0045 | Simmerring |
| 2 | TR252-71 | Scheibe | |
| 4 | TR62-0120 | Zahnrad | |
| 5 | TR74-1580 | Getriebegehaeuse Re. | |
| 5:1 | ![]() | TR7-0045 | Simmerring |
| 5:2 | TR256-237 | BUSHING | |
| 6 | TR62-1530 | Getriebeachse | |
| 9 | TR3257-10 | KEY-WOODRUFF | |
| 10 | TR66-7811 | Geblaesewelle | |
| 11 | TR253-149 | Dichtring | |
| 12 | TR37-6560 | Buchse | |
| 13 | TR62-1150 | Buechse | |
| 14 | TR252-78 | Scheibe | |
| 15 | TR252-76 | Lager | |
| 16 | TR32151-33 | Seegerring | |
| 17 | TR32144-110 | Schraube | |
| 18 | TR281-1 | Oelstopfen | |


Qualitätsmanagement
Informieren Sie uns, wenn Sie einen Fehler gefunden haben.


