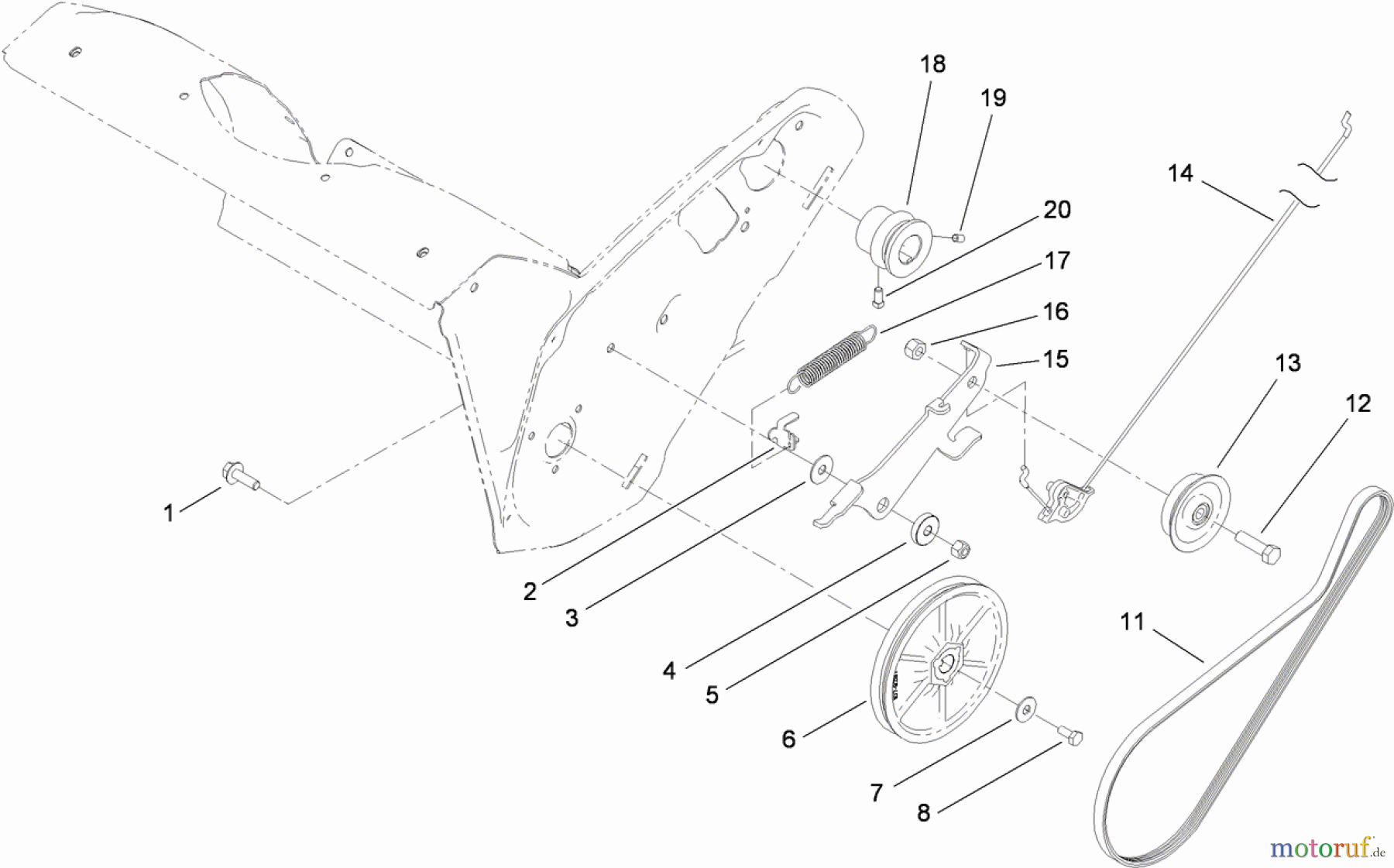
Toro 38452 (621 E) - Power Clear 621 E Snowthrower, 2012 (312000001-312999999) ROTOR DRIVE ASSEMBLY Ersatzteile
ROTOR DRIVE ASSEMBLY 38452 (621 E) - Toro Power Clear 621 E Snowthrower, 2012 (312000001-312999999)

Hier finden Sie die Ersatzteilzeichnung für Toro Neu Snow Blowers/Snow Throwers Seite 1 38452 (621 E) - Toro Power Clear 621 E Snowthrower, 2012 (312000001-312999999) ROTOR DRIVE ASSEMBLY. Wählen Sie das benötigte Ersatzteil aus der Ersatzteilliste Ihres Toro Gerätes aus und bestellen Sie einfach online. Viele Toro Ersatzteile halten wir ständig in unserem Lager für Sie bereit.




