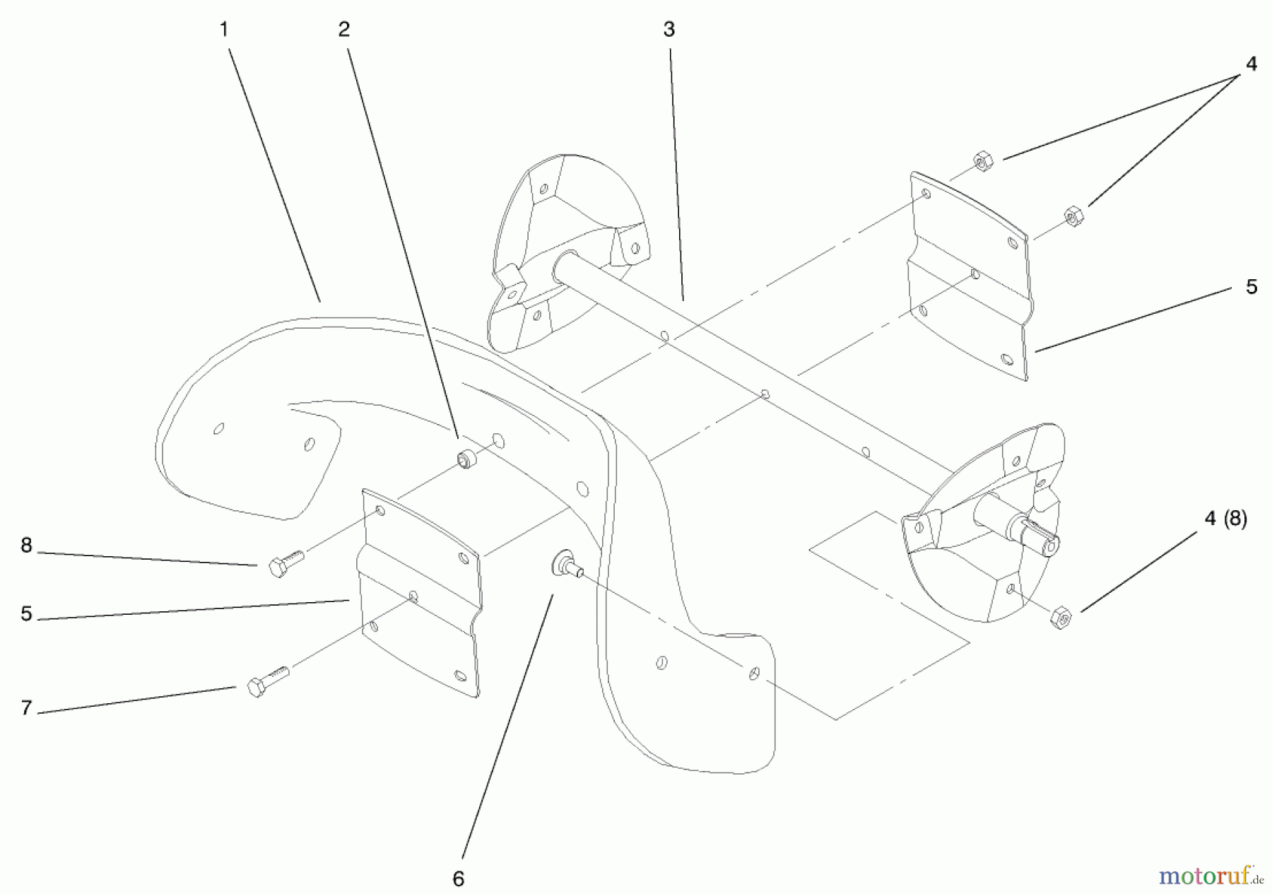
Toro 38413 (2450) - CCR 2450 Snowthrower, 2000 (200000001-200012344) IMPELLER ASSEMBLY Ersatzteile
IMPELLER ASSEMBLY 38413 (2450) - Toro CCR 2450 Snowthrower, 2000 (200000001-200012344)

Hier finden Sie die Ersatzteilzeichnung für Toro Neu Snow Blowers/Snow Throwers Seite 1 38413 (2450) - Toro CCR 2450 Snowthrower, 2000 (200000001-200012344) IMPELLER ASSEMBLY. Wählen Sie das benötigte Ersatzteil aus der Ersatzteilliste Ihres Toro Gerätes aus und bestellen Sie einfach online. Viele Toro Ersatzteile halten wir ständig in unserem Lager für Sie bereit.
| BildNr | Artikel Nummer | Bezeichnung | |
| 1 | TR99-9313 | Rotorblatt | |
| 2 | ![]() | TR55-9370 | Buechse |
| 3 | TR55-9202-03 | 100-5478-03 | |
| 4 | ![]() | TR3296-56 | Stopmutter |
| 5 | TR66-6600-03 | Platte | |
| 6 | ![]() | TR84-1971 | Schraube |
| 7 | TR321-8 | Schraube | |
| 8 | ![]() | TR321-4 | Schraube |


Qualitätsmanagement
Informieren Sie uns, wenn Sie einen Fehler gefunden haben.





