Toro 38405 (1000) - CCR 1000 Snowthrower, 2001 (210000001-210999999) MOTOR & SWITCH HOUSING ASSEMBLY (120 VOLT) Ersatzteile
MOTOR & SWITCH HOUSING ASSEMBLY (120 VOLT) 38405 (1000) - Toro CCR 1000 Snowthrower, 2001 (210000001-210999999)

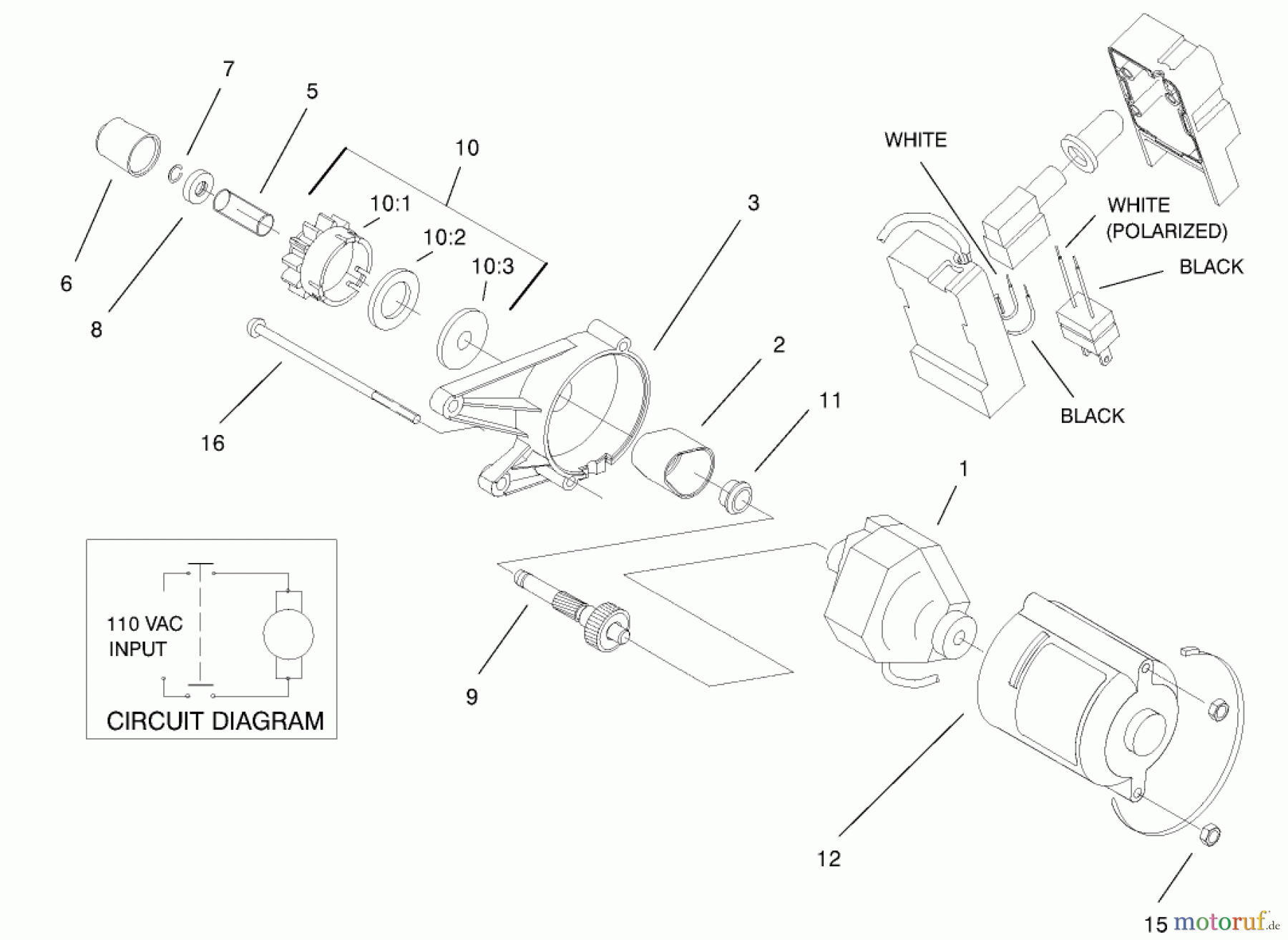
Hier finden Sie die Ersatzteilzeichnung für Toro Neu Snow Blowers/Snow Throwers Seite 1 38405 (1000) - Toro CCR 1000 Snowthrower, 2001 (210000001-210999999) MOTOR & SWITCH HOUSING ASSEMBLY (120 VOLT). Wählen Sie das benötigte Ersatzteil aus der Ersatzteilliste Ihres Toro Gerätes aus und bestellen Sie einfach online. Viele Toro Ersatzteile halten wir ständig in unserem Lager für Sie bereit.
| BildNr | Artikel Nummer | Bezeichnung | |
| 1 | TR70-7802 | Starter | |
| 2 | TR70-7850 | Ritzelabdeckung | |
| 3 | TR100-3443 | Deckel F. Starter | |
| 5 | TR61-4690 | SPRING | |
| 6 | TR70-7890 | CAP-PINION | |
| 7 | TR61-4680 | Seegerring | |
| 8 | TR100-2902 | Anschlagbuechse | |
| 9 | TR95-1797 | 105-8831 | |
| 10 | TR84-5240 | Ritzelsatz | |
| 10:1 | TR70-7790 | Mutter | |
| 10:2 | TR84-5230 | Ritzel | |
| 10:3 | TR84-5440 | RING-RUBBER | |
| 11 | TR70-7900 | Buechse | |
| 12 | TR100-3444 | Startergehaeuse | |
| 15 | TR3296-2 | Mutter | |
| 16 | TR32144-101 | Schraube | |


Qualitätsmanagement
Informieren Sie uns, wenn Sie einen Fehler gefunden haben.

