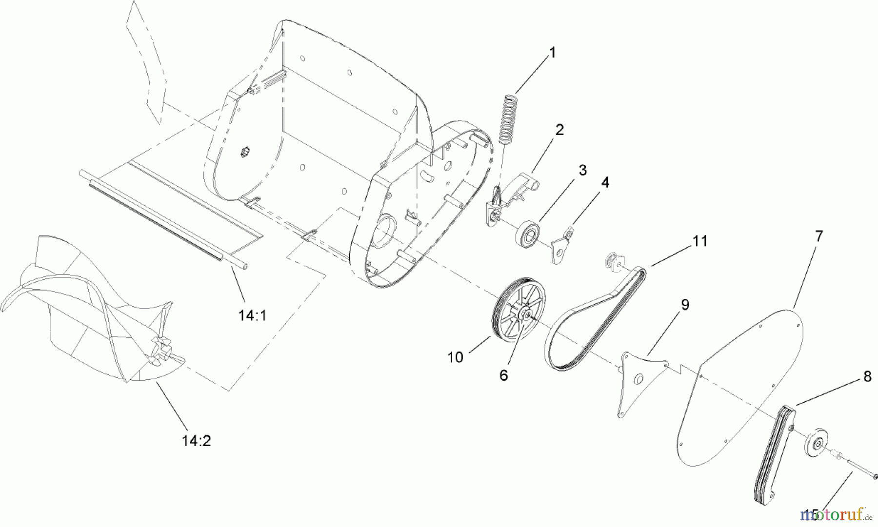
Toro 38365 - Power Shovel Plus, 2006 (260000001-260999999) ROTOR AND DRIVE ASSEMBLY Ersatzteile
ROTOR AND DRIVE ASSEMBLY 38365 - Toro Power Shovel Plus, 2006 (260000001-260999999)

Hier finden Sie die Ersatzteilzeichnung für Toro Neu Snow Blowers/Snow Throwers Seite 1 38365 - Toro Power Shovel Plus, 2006 (260000001-260999999) ROTOR AND DRIVE ASSEMBLY. Wählen Sie das benötigte Ersatzteil aus der Ersatzteilliste Ihres Toro Gerätes aus und bestellen Sie einfach online. Viele Toro Ersatzteile halten wir ständig in unserem Lager für Sie bereit.
| BildNr | Artikel Nummer | Bezeichnung | |
| 1 | TR61-8880 | Druckfeder | |
| 2 | TR106-9796 | ARM-IDLER | |
| 3 | TR100-1048 | Kugellager | |
| 4 | TR106-9797 | RETAINER-PULLEY, IDLER ARM | |
| 6 | TR37-8080 | Scheibe | |
| 7 | TR106-9780-03 | Platte | |
| 8 | TR106-9788 | Abstreifer links | |
| 9 | TR106-9781 | Rollenbock | |
| 10 | TR107-9986 | PULLEY ASM | |
| 11 | TR106-9767 | Keilriemen | |
| 14:1 | TR107-9980 | Leitblech | |
| 14:2 | TR106-9772 | Kehrwalze | |
| 14 | TR | ||
| 15 | TR107-9974 | SCREW-PPH | |


Qualitätsmanagement
Informieren Sie uns, wenn Sie einen Fehler gefunden haben.

