Toro 38173 - Powerlite Snowthrower, 2005 (250000001-250999999) CARBURETOR ASSEMBLY NO. 640086 TECUMSEH HSK635 TYPE 1723C Ersatzteile
CARBURETOR ASSEMBLY NO. 640086 TECUMSEH HSK635 TYPE 1723C 38173 - Toro Powerlite Snowthrower, 2005 (250000001-250999999)

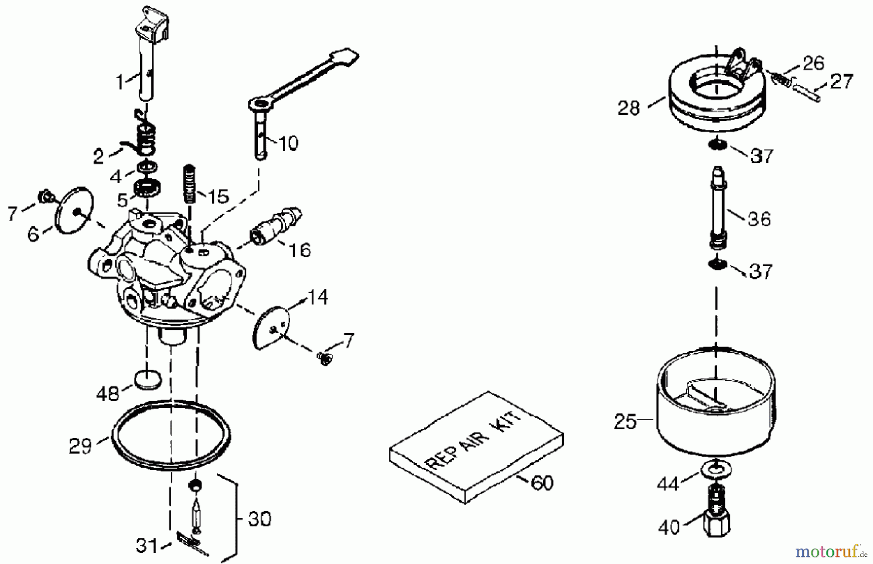
Hier finden Sie die Ersatzteilzeichnung für Toro Neu Snow Blowers/Snow Throwers Seite 1 38173 - Toro Powerlite Snowthrower, 2005 (250000001-250999999) CARBURETOR ASSEMBLY NO. 640086 TECUMSEH HSK635 TYPE 1723C. Wählen Sie das benötigte Ersatzteil aus der Ersatzteilliste Ihres Toro Gerätes aus und bestellen Sie einfach online. Viele Toro Ersatzteile halten wir ständig in unserem Lager für Sie bereit.





